优炫数据库管控中心 UXCC
1.系统概述
1.1.系统简介
**优炫数据库管控中心(**UXCC)是一款功能全面的数据库统一管理平台,旨在通过可视化的方式实现数据库的运维与监控。其核心功能包括:支持单实例、主备集群、MPP集群及RAC集群的全生命周期管理,提供从自动部署、配置、监控到动态扩缩容的一站式操作;内置资源监控与自定义告警中心,支持邮件/短信推送,确保异常实时感知;通过拓扑图直观展示集群架构与节点关系;同时,系统提供了完备的权限管理、审计日志及文件归档功能,满足多租户隔离与安全合规要求。该平台帮助企业大幅提升数据库管理的效率与安全性。
功能简介
| 功能模块 | 子模块 | 功能描述 |
|---|---|---|
| 数据库管理 | 单实例管理 | 显示实例列表、实例状态,管理每个实例的启动停止,并可以进行实例的配置操作、和主机认证的配置操作、支持浏览数据库日志和WAL日志以及日志导出 |
| 主备集群管理 | 显示主备节点信息,支持主备集群配置、集群检测以及集群管理。支持动态增加备节点以及见证节点 | |
| MPP集群管理 | 展示MPP集群信息,支持MPP节点动态增删worker节点以及对worker节点启用禁用;支持MPP集群可视化配置和一键检测 | |
| RAC集群管理 | 显示集群管理信息,可以进行集群配置、添加实例、实例管理和实例维护,支持集群检测、集群列表刷新和查询操作 | |
| 自动部署 | 支持选中版本安装包的远程部署,其中部署场景分别支持单实例部署、MPP部署、主备部署等 | |
| 监控中心 | 资源监控 | 查看主机、单实例、RAC集群、主备集群和MPP集群的监控数据 |
| 监控策略 | 分为系统默认监控策略(Linux,Windows,UXDB,进程)和自定义监控策略,监控策略将监控项、监控指标、监控对象组合在一起,支持新增、编辑、删除 | |
| 自定义监控项 | 用户创建的监控项为自定义监控项,支持新增、编辑、删除 | |
| 拓扑图 | - | 实现本地实例详细信息、MPP架构中,Master节点与Worker节点之间的关系;主备结构中主节点与备节点的关系;RAC集群中各实例的相关信息 |
| 告警中心 | 活动告警 | 展示正在出现告警的告警信息 |
| 历史告警 | 展示系统层级发生过的告警信息,支持删除 | |
| 告警推送 | 支持配置告警推送方式,支持邮件和短信 | |
| 告警项配置 | 支持对系统默认的告警项进行告警规则自定义配置 | |
| 系统管理 | 文件管理 | 支持系统管理员对文件的上传和管理,主要用于上传自动部署功能所需要的部署包 |
| 归档文件 | 支持对系统操作日志、历史告警日志和指标采集数据进行归档、删除和下载 | |
| 系统操作日志 | 实现用户在UXCC端操作时所产生的一些操作日志的记录 | |
| 权限管理 | 支持将实例以权限的方式分配给普通用户,包含了权限设置以及用户组创建 | |
| 用户管理 | - | 系统管理员可实现对用户的创建、编辑、删除、查询等功能的操作。安全管理员、审计管理员以及普通用户可实现对自己用户信息的修改 |
| 审计日志 | - | 审计管理员可查看数据库审计信息 |
1.2.业务结构
优炫数据库管理系统包含三部分:优炫数据库管控中心(UXCC)、uxccAgent、优炫数据库(UXDBServer)。

-
UXCC可以安装在管理端,管理员通过WEB服务器,操作和管理多个数据库、监控当前数据库状态、并且设置和推送告警信息,对实例进行初始化、配置、启停、对象管理和资源使用情况,以及WEB用户管理等功能,本手册主要介绍该内容。
-
UXDBServer实现了数据操作和数据存储方式的分离,对用户提供丰富的基于SQL标准操作的同时,提供对数据的分布式存储。。
-
uxccAgent实现了UXCC对UXDBServer的间接操作,例如创建实例。
数据库管理系统的组成部分为:数据库系统管理部分和存储系统,这两部分可以部署在同一服务器上,也可以分布在不同服务器上。
管理员可以通过创建实例来访问数据库,如果创建本地实例,数据库文件存储在操作系统的文件系统中。
2.准备环境
UXCC由UXCC Server、uxccAgent和数据库组成,其中数据库是UXCC端独自使用的h2数据库。使用UXCC的x86以及arm系统版本可以通过UXCC系统的自动部署功能安装UXDBServer,但在使用UXCC的windows系统版本之前请确保已经安装了UXDBServer。
安装UXDBServer详情请参见《优炫数据库管理系统安装手册》。
UXCC管理端(UXCC Server和uxccAgent)适用的环境如下所示。
表 适配环境说明表
| 项目分类 | 具体项 | 描述 |
|---|---|---|
| 最低配置要求 | CPU | 2核或更高 |
| 内存 | 16GB或更高 | |
| 磁盘空间 | 512GB或更高 | |
| 推荐配置环境 | CPU | 8核及以上 |
| 内存 | 64G及以上 | |
| 磁盘空间 | 512G×2 (Raid1) 及以上 | |
| 其他 | 独立主机 | |
| 操作运行环境 | 浏览器 | 推荐使用 IE11 以上,Firefox 62.0.3+,Google Chrome 68.0.3440.106+ |
| 分辨率 | 1366×768 或以上 | |
| 操作环境 | Linux-x64 CentOS 6.x/7.x、Windows-x64 7/10/Server 2008R2 | |
| 依赖环境 | - | python 2.7 |
3.uxccServer的安装及卸载
3.1.命令行安装及卸载(Linux)
3.1.1.安装
安装以2.1.1.5D版本为例。
-
以root用户执行安装包uxccServer-java-linux7-v2.1.1.5D.run
选择命令行,回车进入下一步。

-
选择安装语言
根据提示输入1,回车进入下一步。

-
信息页面
根据提示输入1,查看产品信息,回车进入下一步。

-
许可协议页面
根据提示输入1,查看许可协议,回车进入下一步。

-
安装路径页面
输入用户名回车,输入1,显示安装路径,默认安装路径是“/home/uxdb/uxcc”(建议使用此安装路径),输入用户路径回车,输入O确认。

-
选择安装包
根据提示输入1,显示选择安装包信息。

-
用户数据
根据提示输入1,显示选择是否开机自启。若选择开机自启,请输入0。

-
安装
根据提示输入1,开始安装,安装完成。


3.1.2.卸载
以root用户登录,进入安装路径(默认/home/uxdb/uxcc),执行./uninstall,输入“1”,选择命令行卸载方式,确认卸载时输入“Yes”即可完成卸载。

3.1.3.服务注册
若要选择uxccServer服务开机自启,除了在安装时选择开机自启以外,还可以自行设置服务开机自启。执行如下操作。
-
以root权限进入uxccServer安装目录下的bin/auto_start目录,执行sh register.sh命令,服务注册成功。
-
输入systemctl status uxccServer检查服务是否注册成功。

3.1.4.服务注销
若要自行注销uxccServer服务,执行如下操作。
-
使用root用户,进入uxccServer安装目录下的bin/auto_start目录,执行sh unregister.sh命令,服务注销成功。
-
输入systemctl status uxccServer检查服务是否注销成功。

3.2.图形化安装及卸载(Linux)
3.2.1.安装
安装以2.1.1.5D版本为例。
-
以root用户执行安装包uxccServer-java-linux7-v2.1.1.5D.run
根据提示输入0,选择图形化安装方式。

-
选择安装语言
打开语言选择框,选择安装时的语言显示,以英文为例。

-
欢迎页面
选择语言之后进入“欢迎”界面。

-
信息页面
进入信息页面,单击“下一步”。

-
许可协议页面
选择“我接受该许可证协议的条款.”,单击“下一步”。

-
安装路径
选择安装路径(默认是/home/uxdb/uxcc),单击“下一步”。

-
选择安装包。
目前只有uxcc安装包,直接单击“下一步”。

-
用户数据
进入选择是否开机自启页面。若选择开机自启,请选择“是”,单击“下一步”。

-
安装
进入安装界面,单击“下一步”。

- 执行额外程序

-
安装完成
进入安装完成页面,单击“完成”,完成安装。

3.2.2.卸载
-
运行卸载程序
以root用户登录,进入安装路径(默认/home/uxdb/uxcc),执行./uninstall,输入“0”,选择图形化卸载方式,弹出卸载确认框。

-
开始卸载
单击“Uninstall”,开始卸载,显示卸载信息,单击“确定”按钮。

-
卸载完成
卸载完成界面,单击“Finish”,卸载完成。

3.2.3.服务注册
若要选择uxccServer服务开机自启,除了在安装时选择开机自启以外,还可以自行设置服务开机自启。执行如下操作。
-
以root权限进入uxccServer安装目录下的bin/auto_start目录,执行sh register.sh命令,服务注册成功。
-
输入systemctl status uxccServer检查服务是否注册成功。

3.2.4.服务注销
若要自行注销uxccServer服务,执行如下操作。
-
以root权限进入uxccServer安装目录下的bin/auto_start目录,执行sh unregister.sh命令,服务注销成功。
-
输入systemctl status uxccServer检查服务是否注销成功。

3.3.图形化安装及卸载(Windows)
3.3.1.安装
安装以2.1.1.5D版本为例。
-
执行安装包
双击UXCC的Windows安装包(uxccServer-java-win10-v2.1.1.5D.exe)开始解压。

-
选择语言
进入语言选择界面,以中文为例。

-
欢迎页面
查看欢迎信息,单击“下一步”。

-
信息页面
查看信息页面,单击“下一步”。

-
许可协议页面
选择“我接受该许可证协议的条款.”,单击“下一步”。

-
安装路径页面
选择安装路径(默认是D:\uxdb\uxcc),单击“下一步”。

-
选择安装包
目前安装包只有uxcc,单击“下一步”。

-
用户数据页面
选择是否开机自启页面。若选择开机自启,请选择“是”,单击“下一步”。

-
安装页面
查看安装页面,单击“下一步”。

-
执行额外程序页
查看执行额外程序页面,单击“下一步”。

-
安装完成
单击“完成”,完成安装。

3.3.2.卸载
-
执行卸载程序
进入UXCC的安装路径下的uninstaller目录,双击执行uninstall.bat脚本。

-
开始卸载
弹出卸载确认框。单击“卸载”按钮,开始卸载,显示卸载信息,单击“确定”按钮。


-
卸载完成
显示卸载完成界面,单击“完成”,卸载完成。

3.3.3.服务注册
若要选择uxccServer服务开机自启,除了在安装时选择开机自启以外,还可以自行设置服务开机自启。执行如下操作。
-
进入uxccServer安装目录下的bin/auto_start目录,执行register.bat脚本,服务注册成功,脚本运行期间会弹框,此为正常现象。
-
在cmd中输入sc query uxccServer或者打开服务检查服务是否注册成功。

3.3.4.服务注销
若要自行注销uxccServer服务,执行如下操作。
-
进入uxccServer安装目录下的bin/auto_start目录,执行unregister.bat命令,服务注销成功。
-
输入sc query uxccServer或者打开服务检查服务是否注销成功。

4.uxccAgent的安装及卸载
4.1.命令行安装及卸载(Linux)
4.1.1.安装
安装以2.1.1.5D版本为例。
-
获取安装包uxccAgent-linux7-v2.1.1.5D.tar.gz,请联系优炫技术人员提供。
-
以uxdb用户登录,上传安装包uxccAgent-linux7-v2.1.1.5D.tar.gz。
-
创建agent的安装路径。
-
执行如下命令解压。
[uxdb@localhost uxdbagent]$ tar -xvf ${agent安装包路径} -C ${agent安装路径}

-
按需修改agent安装路径下uxccAgent.conf的配置项。
uxccAgent.conf配置项说明如下所示。
表 uxccAgent配置项
字段 解析 ipuxccAgent服务所在服务器 IP 地址。如果网卡有多个 IP 地址,则以该 IP 地址为准portuxccAgent服务端口,默认为 7000eth_name网卡名称。IP 对应的网卡,用于监控网络上传下载速率 talk_ipuxccServer服务所在服务器 IP 地址。用于往uxccServer心跳服务中注册站点talk_portuxccServer心跳服务端口,默认为 5000snmp_portSNMP 服务端口号,用于监控站点和实例信息,默认为 10009 snmp_thread_numSNMP 服务监控线程数 shutdown_portuxccAgent服务停止监听端口,默认为 7008
4.1.2.卸载
确认agent服务已停止,然后删除agent安装路径。
4.1.3.服务注册
若要设置uxccAgent服务开机自启,执行如下操作。
-
以root权限进入uxccAgent安装目录下的bin/auto_start目录,执行sh register.sh命令,服务注册成功。
-
输入systemctl status uxccAgent检查服务是否注册成功。

4.1.4.服务注销
若要自行注销uxccServer服务,执行如下操作。
-
以root权限进入uxccAgent安装目录下的bin/auto_start目录,执行sh unregister.sh命令,服务注销成功。
-
输入systemctl status uxccAgent检查服务是否注销成功。

4.2.安装及卸载(Windows)
4.2.1.安装
安装以2.1.1.5D版本为例。
-
获取安装包uxccAgent-win-x64-v2.1.1.5D.tar.gz,请联系优炫技术人员提供。
-
解压uxccAgent-win-x64-v2.1.1.5D.tar.gz到agent的安装路径,若无解压工具,可用cmd命令行执行如下命令。
tar -xvf ${agent安装包路径} -C ${agent安装路径} -
按需修改agent安装路径下uxccAgent.conf的配置项。
uxccAgent.conf配置项说明参见表 uxccAgent配置项。
4.2.2.卸载
确认agent服务已停止,然后删除agent安装路径。
4.2.3.服务注册
若要选择uxccAgent服务开机自启,除了在安装时选择开机自启以外,还可以自行设置服务开机自启。执行如下操作。
-
进入uxccAgent安装目录下的bin/auto_start目录,执行register.bat脚本,服务注册成功,脚本运行期间会弹框,此为正常现象。
-
在cmd中输入sc query uxccAgent或者打开服务检查服务是否注册成功。

4.2.4.服务注销
若要自行注销uxccServer服务,执行如下操作。
-
进入uxccAgent安装目录下的bin/auto_start目录,执行unregister.bat命令,服务注销成功。
-
输入sc query uxccAgent或者打开服务检查服务是否注销成功。

5.启动及停止
5.1.uxccServer的启动及停止
-
Linux
以root用户进入到安装路径下,如下图所示。

- 启动
若已设置开机自启,使用root用户执行以下命令启动uxccServer。
```
[root@localhost uxcc]# systemctl start uxccServer
```
若未设置开机自启,使用root用户在uxccServer安装路径下执行如下命令启动uxccServer。
```
[root@localhost uxcc]# ./start.sh
```
- 停止
若已设置开机自启,使用root用户执行以下命令停止uxccServer。
```
[root@localhost uxcc]# systemctl stop uxccServer
```
若未设置开机自启,使用root用户在uxccServer安装路径下执行如下命令停止uxccServer。
```
[root@localhost uxcc]# ./stop.sh
```
-
Windows
进入到安装路径下,如下图所示。

- 启动
若已设置开机自启,请打开服务列表,右键uxccServer服务,选择启动来开启uxccServer服务。
) 
若未设置开机自启,请在uxccServer安装路径下选中start.bat文件,鼠标右键选择以管理员身份运行,启动uxccServer。
- 停止
若已设置开机自启,请打开服务列表,右键uxccServer服务,选择停止来关闭uxccServer服务。
) 
若未设置开机自启,请在uxccServer安装路径下选中stop.bat文件,鼠标右键选择以管理员身份运行,关闭uxccServer。
5.2.uxccAgent的启动及停止
-
Linux
以uxdb用户进入到安装路径下,如下图所示。

- 启动
若已设置开机自启,使用root用户执行以下命令启动uxccAgent。
```
[uxdb@localhost uxccAgent]$ systemctl start uxccAgent
```
若未设置开机自启,使用uxdb用户在uxccAgent安装路径下执行如下命令启动uxccAgent。
```
[uxdb@localhost uxccAgent]$ ./startAgent.sh
```
- 停止
若已设置开机自启,使用root用户执行以下命令停止uxccAgent。
```
[uxdb@localhost uxccAgent]$ systemctl stop uxccAgent
```
若未设置开机自启,使用uxdb用户在uxccAgent安装路径下执行如下命令停止uxccAgent。
```
[uxdb@localhost uxccAgent]$ ./shutdownAgent.sh
```
-
Windows
进入到安装路径下,如下图所示。

- 启动
若已设置开机自启,请打开服务列表,右键uxccAgent服务,选择启动来开启uxccAgent服务。
) 
若未设置开机自启,请在uxccAgent安装路径下双击startAgent.bat文件,启动uxccAgent。
- 停止
若已设置开机自启,请打开服务列表,右键uxccAgent服务,选择停止来关闭uxccAgent服务.
) 
若未设置开机自启,请在uxccAgent安装路径下双击shutdownAgent.bat文件,关闭uxccAgent。
6.系统首页
6.1.系统登录
UXCC采用B/S结构,打开浏览器,在浏览器输入本系统的访问地址https://UXCCSERVERIP:10000,默认端口为10000,进入系统登录界面。

本系统为用户默认内置了四种角色的默认用户以及密码,分别是系统管理员super(super12#$),安全管理员admin(admin12#$),审计管理员audit(audit12#$)以及普通用户tomcat(tomcat12#$)。
用户首次进入本系统可以选择上述内置用户。输入用户名、密码、验证码,单击“登录”进入UXCC系统。
系统安装完成后系统管理员super用户,该角色的用户也是有且只有一个,系统管理员可以创建普通用户、安全管理员,操作步骤请参见新建用户。各角色用户的操作权限请参见表 UXCC用户角色操作权限列表。
6.2.首页
安全管理员登录之后,默认进入首页,首页分为资源统计、基本监控TOP5、告警统计三大块。
资源统计包含:主机、实例、MPP、主备、RAC集群总数、状态统计。
基本监控TOP5包含:主机cpu使用率、主机内存使用率、磁盘IO、数据库会话数、QPS、TPS,展示最高的5个数据。
告警统计包含:活跃告警统计和分布、告警列表展示最新的10条活跃告警。

-
单击状态统计的数字,打开弹框,展示统计对象对应状态的列表。 以主机列表为例,如下所示。

-
基本监控TOP5中的主机监控项,单击ip打开对应主机监控页面;数据库会话数、QPS、TPS单击数字进入实例监控页面。
-
单击告警列表中的告警名称,打开告警详情页;单击告警源、告警源IP,打开实例监控大盘或主机监控。
6.3.资源下载
登录之后,单击右上角下载按钮,进入uxcc资源下载页面,勾选需要下载的工具、驱动和文档,单击“下载”,可将选中资源下载到本地。

6.5.在线帮助文档
登录之后,单击右上角
“在线帮助文档”按钮,进入在线帮助文档页面,可输入关键字,进行全文检索。
6.6.用户信息
单击右上角的用户头像或者用户名称,然后单击“用户信息”,显示当前登录用户的详细信息,支持修改当前用户的邮箱、手机号,同时也支持对邮箱、手机号进行简单通信测试。用户可以此来判断是否可以正常接收到信息,从而保障了告警信息推送正确。

6.7.修改密码
单击右上角的用户头像或者用户名称,然后单击“修改密码”,弹出修改密码的弹框,可修改当前登录用户的密码。

6.8.系统退出
单击右上角用户头像或用户名称,然后单击“退出登录”,退出成功,返回UXCC登录页面。
7.数据库管理
数据库管理包含了对单实例、MPP集群、主备集群、RAC集群以及自动部署的管理;主要支持普通实例创建、启停服务、实例参数配置、MPP集群管理配置、主备集群可视化管理配置以及RAC集群管理,自动部署支持普通部署、单实例部署、主备集群部署和MPP集群部署。
7.1.单实例管理
7.1.1.实例管理列表
单击菜单导航“数据库管理”=>“单实例管理”,获取实例列表。

表 实例解析表
| 项目 | 解析 |
|---|---|
| 序号 | 根据实例创建的先后自动生成 |
| 实例名称 | 用户自定义实例名称 |
| IP地址 | 当前实例运行环境IP |
| 路径 | 显示当前实例存在的文件目录 |
| 模式 | 模式包括Compatible/Oracle、MySQL、Standard |
| 状态 | 表示对应实例服务的运行状态 |
| 安全功能 | 表示对应实例是否为具有安全功能的实例 |
| 是否加密 | 表示对应实例是否为加密实例 |
| 自启动 | 是否配置了开机自启动 |
| 创建时间 | 为实例创建的时间 |
| 数据库版本 | UXDB的安装版本 |
| 操作 | 包括配置以及日志管理 |
| 类型 | 目前支持本地实例 |
7.1.2.实例创建
UXCC实例创建支持本地实例创建。
单击实例列表页面中的“新建”按钮,进行本地实例创建。
进入“基本信息”页签,如下图所示。

可以依据所创实例需求,选择性的选择初始化其他参数。

单击
按钮可以查看对应参数的解释说明。

“实例参数”页签可以修改部分实例配置项的当前值。

“初始化”页签可以预览当前实例各信息以及对应的命令。

并且单击“开始”之后可以查看初始化日志信息。

表 本地实例创建解析表
| 项目 | 解析 |
|---|---|
| 实例名称 | 实例名称,不为空。 |
| 类型 | 支持本地实例。 |
| 路径 | uxdb能访问的路径均可,路径中不能包含空格。 |
| 超级用户名 | 为数据库设置超级用户名称。 |
| 密码 | 超级用户的密码,不为空。 |
| 密码文件 | 除过文本密码以外,可以支持密码文件来设置超级用户的密码,与密码栏二选一。 |
| 模式 | 表示实例模式,包括Compatible/Oracle、MySQL、Standard,默认是Standard。 |
| IP地址 | 选择IP地址和端口号,端口号可以在实例配置中进行修改;该运行环境的CPU,内存配置会影响实例运行的性能。 |
7.1.3.实例列表操作
-
实例名称修改
可以进行对实例名称的修改,单击需要修改名称的“编辑”按钮,弹出实例修改弹框,进行修改。
-
实例删除
选中想要删除的实例,单击“删除”,提示“是否确认删除该实例?”,单击“确定”,删除成功。
-
实例刷新
单击实例列表页中的“刷新”按钮,可以看到新建的实例。
-
实例查询
支持实例名称、IP地址以及状态进行查询。实例状态包括:正在启动、在运行中、关闭、正在关闭、在恢复中、创建中、删除中、故障以及在恢复过程中关闭数据库。
7.1.4.配置
单击某一实例的“配置”,进入实例信息及配置页面。实例管理界面显示实例的基本信息,并可以进行实例启停、实例配置、主机认证管理等操作。

7.1.4.1.实例信息及配置
实例信息包含实例名称、实例类型、创建时间等。可以通过“启动”、“停止”、“重启”、“重载配置”和“设置自启动”按钮改变实例状态。

7.1.4.2.实例配置
单击实例操作页面中“实例配置”,可以进行实例的配置或者主机认证的配置,包含最大连接数、端口号等配置参数信息。

以修改archive_mode为例,单击“编辑”,根据需要进行修改,单击“确定”完成实例配置操作。

配置信息目前只支持单个参数修改。部分配置项只需要单击“重载配置”即可使修改的配置生效。存在部分的配置项,则需要重启实例才可生效,具体详情可查看描述信息是否要求“change requires restart”。
7.1.4.3.主机认证
-
主机认证页面
单击实例管理中“主机认证”页签,进行主机认证相关配置。

-
主机认证新增
单击“新增”,可以增加主机认证信息。主要给用户提供修改主机认证,对其连接数据库等操作进行控制。

**提示**
主机认证界面上的时间段参数显示为00:00 - 00:00,与00:00 - 24:00等价,均表示全天的意思。
-
主机认证修改
单击某一行中“编辑”,可以对已有的认证信息进行修改。

配置信息修改完成后,需要重启该实例或者单击“重载配置”,配置信息才可以生效。
7.1.5.日志管理
单击实例列表中任一实例的“ 日志管理”操作,进入日志管理页面。
7.1.5.1.数据库日志
-
页面总览
显示当前操作的实例中操作所产生的数据库日志列表。

-
查询
数据库日志文件信息可以通过文件名以及创建时间段,进行数据库日志文件模糊过滤。
-
导出
选中至少一行日志信息,单击“导出”,可以将选中的所有日志文件导出。
-
删除
7.1.5.2.WAL日志
-
页面总览
显示当前操作的实例中WAL日志的文件信息列表。

-
查询
WAL日志信息可以通过文件名以及创建时间段,进行WAL日志信息的模糊过滤。
-
导出
选中至少一行日志信息,单击“导出”,可以将选中的所有日志文件导出。
7.2.主备集群管理
7.2.1.主备集群列表
单击菜单导航“数据库管理”=>“主备集群管理”,获取主备集群列表。

页面详细信息说明参见表 实例解析表。
7.2.2.主备列表操作
-
主备检测
单击“主备检测”按钮,可以检测所管理的机器中,已配置好的主备信息。
-
新增主备
单击“新增主备”按钮,可以跳转之后新增主备界面,操作方式参见新增主备。
-
实例查询
实例查询参见实例列表操作。
-
实例配置
单击主备列表中的“实例配置”,跳转至主备实例配置页面,操作方式参见实例配置。
-
日志管理
单击主备列表中的“更多”下拉按钮,选择“日志管理”,跳转至当前主备对应的日志管理界面,操作方式参见日志管理。
-
主备配置
单击主备列表中的“更多”下拉按钮,选择“主备配置”,跳转至当前主备对应的主备配置界面,操作方式参见主备配置。
-
停止守护进程
单击主备列表中的“更多”下拉按钮,选择“停止守护进程”,可暂时停止当前主备的守护进程。
-
恢复守护进程
单击主备列表中的“更多”下拉按钮,选择“恢复守护进程”,可暂时恢复当前主备的守护进程。
-
主备事件
单击主备列表中的“更多”下拉按钮,选择“主备事件”,显示主备事件列表,支持名称、实例名称和事件进行查找。

-
下载主备日志
单击主备列表中的“更多”下拉按钮,选择“下载主备日志”,显示日志列表,可勾选日志,进行下载。
7.2.3.新增主备
单击“新增主备”,进入新增主备页面。

主备部署分为四个部分,分别是配置主节点、配置备节点、配置见证节点以及开始部署,通过部署步骤观察部署进度和状态。
注意
主备部署时,请先手动检查uxdb用户目录下的.ssh目录是否存在,若存在,请查看.ssh目录下authorized_keys、id_rsa、id_rsa.pub、known_hosts文件是否全部存在,若文件缺失,请将该目录下文件全部删除,再进行主备部署。其中见证节点可根据业务需求进行配置,并不是必须的。
7.2.3.1.配置主节点
单击“新增”,出现实例列表。

选中某一实例作为主节点,单击“配置”。在弹窗中填写主节点配置参数,填写完成,单击“确定”。

表 主节点配置参数
| 参数 | 说明 |
|---|---|
| 主机用户 | 主机所在机器的登录用户 |
| 用户密码 | 节点所在机器的用户登录密码 |
| 数据库用户 | 节点所在机器的数据库用户名称,默认为 uxdb |
| 数据库密码 | 节点所在机器对应数据库用户的登录密码 |
| 优先级 | 当主机宕机时,优先级最高的会成为新的主节点,值越大优先级越高 |
| root 密码 | 节点所在机器 root 的登录密码 |
| 数据库 | 所选择实例的数据库名称 |
| SSH 端口 | SSH 服务端口号,默认 22 |
| 虚拟 IP | 主机实例所使用的虚拟 IP(VIP) |
| 流复制模式 | 若为同步,则主机每更新一次数据备机也会跟着更新;若为异步,备机每隔一段时间会检测是否需要更新 |
max_wal_senders | 主机允许连接的最大并发数量,默认值是 10 |
wal_keep_segments | 用于指定 wal 目录中保存的过去的 wal 文件(wal 段)的最小数量,以防备用服务器在进行流复制时需要 |
如果没选中主节点,会提示“请选中一行作为主节点”。
如果已有主节点再次单击新增主节点,弹出主节点实例选择弹框,可以重新选择实例做主节点。
主节点配置成功,如下所示。

7.2.3.2.配置备节点
单击“备节点”下面的“新增”按钮,配置并添加备节点。

表 备节点配置参数
| 参数 | 说明 |
|---|---|
| IP 地址 | 备节点可以部署的目标机器,只有启动了 uxccAgent 且未在 uxcc 中存在主备集群的机器才可以被检测到 |
| 备机用户 | 备机所在机器的登录用户 |
| root 密码 | 节点所在机器 root 的登录密码 |
| 用户密码 | 节点所在机器的用户登录密码 |
| 实例名称 | 备节点的实例名称 |
| 实例路径 | 备节点想要部署实例的目标路径 |
| 优先级 | 当主机宕机时,优先级最高的会成为新的主机,值越大优先级越高 |
| SSH 端口 | SSH 服务端口号,默认 22 |
| 流复制模式 | 若为同步,则主机每更新一次数据备机也会跟着更新;若为异步,备机每隔一段时间会检测是否需要更新 |
单击“确定”按钮,备节点列表加入一条备节点信息。
7.2.3.3.配置见证节点
单击“见证节点”下面的“新增”按钮,配置并添加见证节点。
首先选择某一实例作为见证节点,可在实例列表的操作栏进行配置。

单击操作栏“配置”,在弹框中进行见证节点的信息配置。

表 见证节点配置参数
| 参数 | 说明 |
|---|---|
| 见证节点数据库用户名 | 见证节点数据库用户名称,建议输入已经存在数据库用户 |
| ssh端口 | ssh服务端口号,默认22 |
| 见证节点数据库名 | 见证节点数据库名称,建议输入已经存在的数据库 |
| 流复制模式 | 流复制的执行模式,默认为同步 |
| 数据库密码 | 数据库用户登录密码 |
| 见证节点主机密码 | 见证节点用户所在机器的主机用户登录密码 |
| 见证节点主机用户名 | 见证节点用户所在机器的主机用户 |
单击“确定”按钮,可在见证节点列表中加入一条见证节点信息。

见证节点列表操作栏中编辑与移除,可以支持在未开始部署之前,对见证节点进行参数修改和见证节点移除。
注意
见证节点只支持一个节点。
7.2.3.4.开始部署
单击“开始”部署后,除了“取消”和“返回”按钮,其他所有按钮置灰。只有当执行失败,并且当前执行步骤不是最后一步备库配置时,才可重新编辑再次部署。
部署失败后,会在步骤里面显示失败具体原因。

在部署执行过程中,如果当前执行的步骤较慢,会显示执行中。
7.2.4.主备配置
7.2.4.1.主备配置页面
单击下拉按钮“更多”中的主备配置,进入主备配置页面。

主备配置界面分为三部分,其中分别是主节点信息、备节点信息以及见证节点信息。
7.2.4.2.主节点操作
-
修改配置按钮
单击修改配置按钮,可以跳转至实例操作界面,允许修改该实例的相关配置以及认证配置等。详情查看实例配置。
-
连接配置
当主节点主机用户或者用户密码发生变化时,建议在此重新修改用户和密码的连接信息。若信息发生变化未更新时,则可能在主备节点切换时存在信息异常。
表 修改连接配置参数
| 参数 | 说明 |
|---|---|
| 主机用户 | 主机用户名称 |
| 用户密码 | 对应主机用户登录密码 |
| SSH 端口 | SSH 服务端口,默认 22,也建议 SSH 端口为 22 |
7.2.4.3.备节点操作
-
新增
单击新增按钮,可以增加新的备节点,参见配置备节点。
-
连接配置
当备节点主机用户或者用户密码发生变化时,建议在此重新修改用户和密码的连接信息。若信息发生变化未更新时,则可能在主备节点切换时存在信息异常。参见主节点操作。
-
修改配置
单击下拉按钮“更多”,选择“修改配置”,可以跳转至实例操作界面,支持修改当前实例的参数配置以及认证配置,参见实例配置。
-
设置为主节点
单击下拉按钮“更多”,选择“设置为主节点”,支持将该行实例手动设置为主节点。
-
注销
单击下拉按钮“更多”,选择“注销”,可以暂时注销该节点。
-
移除
单击下拉按钮“更多”,选择“移除”,支持当节点故障时可以手动将故障节点移除。
7.2.4.4.见证节点操作
-
新增
见证节点只有一个,无见证节点时可直接新增,参见配置见证节点。
-
注销
支持注销见证节点信息。当节点注销之后,节点操作栏按钮将会变化成移除,可根据业务情况,对于不需要的见证节点进行移除。
7.3.MPP集群管理
7.3.1.MPP集群列表
单击菜单导航“数据库管理”=>“MPP集群管理”,获取MPP列表。

页面详细信息说明参见表 实例解析表。
7.3.2.MPP列表操作
-
MPP检测
单击“MPP检测”,可以检测所管理的机器中,已配置好的MPP信息。
注意
检测MPP之前需要确保当前的配置MPP中的worker节点和master节点处于启动状态。
-
实例查询
实例查询参见实例列表操作。
-
实例配置
通过单击MPP列表的“实例配置”,可跳转至当前MPP对应实例的管理界面。参见配置。
-
日志管理
通过单击MPP列表的“日志管理”,可跳转至当前MPP对应实例管理界面。参见日志管理。
-
MPP配置
单击MPP列表的“MPP配置”,可跳转至MPP配置界面,参见MPP配置。
7.3.3.新增MPP
单击“新增MPP”,进入页面。

新增MPP页面分为两部分,分别是master节点模块和worker节点列表。
7.3.3.1.master节点操作
-
设置master节点
单击“master节点”右侧的“新增”按钮,弹出实例列表。

选中某一实例作为master节点,单击“编辑”。在弹窗中填写实例的用户名、数据库名、密码,填写完成,单击“确定”。

信息填写正确,则会弹窗提示“数据库信息校验成功”。
表 校验数据库解析表
| 项目 | 解析 |
|---|---|
| 用户名 | 创建实例的默认用户名(uxdb),不能为空 |
| 数据库名 | 创建实例的默认数据库(uxdb),不能为空 |
| 密码 | 创建实例的密码,不能为空 |
master节点设置成功后,如图所示。 
7.3.3.2.worker节点操作
-
设置worker节点
单击“worker节点”下面的“新增”按钮,弹出实例列表。同master节点操作。
选中实例列表中的一个实例,单击“编辑”,在弹框中填写实例的用户名、数据库名和密码,填写完成,单击确定。同master节点操作。
信息填写正确,则会弹窗提示“数据库信息校验成功”。
单击“确定”,设置为worker节点的实例会添加到worker列表中。
-
删除worker节点
一套MPP可以拥有多个worker节点,选中要删除的worker节点(支持单选,多选操作),单击“删除”。
master和worker节点配置完成后,单击“确定”按钮,保存配置的MPP关系。
7.3.4.MPP配置
单击“MPP配置”,进入MPP查看界面。

上方区域显示master节点信息,下方区域则显示worker列表,展示worker的基本信息。
7.3.4.1.worker节点操作
-
新增
MPP管理支持对已有MPP进行worker节点的新增,单击“新增”按钮,弹出实例列表。同master节点操作。
-
修改
选择某一行数据,单击“编辑”,完善数据库相关信息。同master节点操作。
单击“确定”,校验数据库是否可用。如果数据库连接失败,可能由于密码或者用户、数据库错误导致,会提示“数据库连接失败!”。
添加worker节点信息校验成功,会回显数据库的相关信息,单击“确定”,则可完成worker节点的添加。
-
查询
worker节点可以根据名称、IP进行数据过滤。
-
删除、启用、禁用
支持选择某一行worker节点信息,可以删除、启用和禁用该选中的worker节点。
注意
目前MPP节点不支持加密实例、安全实例。
7.4.RAC集群管理
7.4.1.RAC集群列表
单击菜单导航“数据库管理”=>“RAC集群管理”,进入RAC集群管理页面。

单击列表实例个数可以查看集群中各实例的信息。

7.4.2.RAC集群管理操作
-
集群检测
单击“检测”按钮,检测成功后会自动刷新集群列表。
-
集群列表刷新
单击“刷新”按钮,刷新集群列表及集群中的实例信息。
-
查询
可以通过集群名称和集群状态进行查询。
7.4.3.RAC集群配置
选择集群列表中一个集群,单击操作栏“配置”,可查看集群配置信息。

-
查询
可以通过名称和是否已修改进行配置项的查询。
-
参数配置
选中要修改的集群配置参数,单击“编辑”按钮,即出现修改配置对话框,修改配置值,单击“确定”按钮,修改成功。

-
重载配置
将参数配置修改完成后,单击“重载配置”,填写用户名和用户密码,单击“确定”,提示“重载配置成功!”。

-
主机认证页面
单击“主机认证”页签,进行主机认证相关配置。

-
主机认证新增
单击“新增”,可以增加主机认证信息。主要给用户提供修改主机认证,对其连接数据库等操作进行控制。

提示
主机认证界面上的时间段参数显示为00:00 - 00:00,与00:00 - 24:00等价,均表示全天的意思。
-
主机认证修改
单击某一行中“编辑”,可以对已有的认证信息进行修改。

配置信息修改完成后,需要重启该实例或者单击“重载配置”,配置信息才可以生效。
-
主机认证删除
选中某行认证信息,单击“删除”,提示“是否确认删除选择的主机认证信息?”,单击“确定”,删除成功。
7.4.4.添加实例
选择RAC集群列表中的一个集群,单击“添加实例”按钮,弹出添加实例对话框,选择实例号、IP地址,填写端口,单击“确定”按钮。
添加实例成功,在实例列表,可以看到增加的实例信息。
7.4.5.实例管理
单击RAC集群实例列表中的某一实例个数,进入实例列表页面,单击“实例管理”。

-
启动集群实例
若实例未启动,单击“启动”按钮,提示“是否确认启动该实例?”,单击“是”,实例启动成功。
-
停止集群实例
若实例未停止,单击“停止”按钮,提示“是否确认停止该实例?”,单击“是”,实例停止成功。
-
重载配置
在实例配置修改之后,单击“重载配置”,填写用户名和用户密码,单击“确定”,提示“重载配置成功!”。

-
重启
单击重启按钮可以将集群中的实例进行服务重启。
-
修改实例配置
单击实例配置参数操作列的“编辑”,出现修改配置对话框,修改配置值,单击“确定”按钮,修改完成之后单击“保存”按钮,修改实例配置成功。

若配置值修改有误,还未保存,可单击“取消”。
7.4.6.日志管理
7.4.7.实例移除
单击“移除”按钮,提示“是否确认移除该实例”,单击“是”,即可从当前集群中移除该实例。处于正常停止状态或者故障的实例才可被移除。
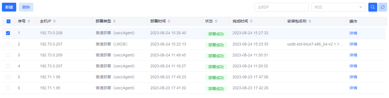
7.5.自动部署
7.5.1.自动部署列表
单击菜单导航“自动部署”,如下所示。

表 自动部署列表解析表
| 项目 | 解析 |
|---|---|
| 主机 IP | 需要部署的机器 IP |
| 部署类型 | 支持 UXDB、uxccAgent 独立部署、UXDB+uxccAgent 部署以及一体化包部署 |
| 部署时间 | 实例开始部署的时间 |
| 状态 | 包括:部署中、部署失败、部署暂停、部署成功 |
| 完成时间 | 实例部署完成的时间 |
| 安装包名称 | 部署的安装包名称 |
查询可以通过主机ip,也可以通过状态进行查询。可供查询的状态有部署中、部署失败、部署暂停、部署成功。
部署前请先上传安装包文件。文件上传请参见文件管理。
7.5.2.普通部署
单击左上方的“新增”按钮,普通部署如下所示。

-
新增普通部署,在表格内填入对应的值。
表 普通部署解析表
项目 解析 主机 IP 需要部署的机器 IP 主机用户 需要以某个用户的身份进行安装,建议以 uxdb用户安装用户密码 上述安装用户的密码 root 密码 root 用户密码 部署类型 可选: UXDB、uxccAgent、UXDB+uxccAgent或 一体化包安装包 选择需要的安装包;若版本不存在,请联系系统管理员通过“文件管理”模块上传 安装内容 仅当选择“一体化包”时出现,可自由勾选安装包内的不同组件 安装路径 软件安装的目标路径,默认: /home/uxdb/uxdbinstallSSH 端口 用于连接主机的 SSH 端口号,默认为 22 uxccAgent 开机自启 默认未开启;涉及 uxccAgent的部署类型可手动勾选开启 -
单击“部署”,随后表单信息跟部署按钮都处于不可单击状态。部署步骤、进度跟详情都会实时获取和更新。
-
最终部署结果会如图所示,如果失败,会在失败结果上显示原因。

7.5.3.单实例部署
-
填入对应数据,单击“部署”按钮。
表 实例信息解析表项目 解析 主机 IP 需要部署的机器 IP 主机用户 安装身份,建议使用 uxdb用户用户密码 安装用户的登录密码 root 密码 root 用户密码,用于环境初始化及配置自启动 安装包 选择所需版本;若缺失,需联系管理员通过“文件管理”上传 安装内容 仅限一体化包时显示,支持勾选安装包内的子组件 安装路径 软件程序安装目录,默认: /home/uxdb/uxdbinstallSSH 端口 连接主机的 SSH 端口,默认为 22 uxccAgent 开机自启 默认关闭;涉及 Agent 的部署类型可勾选开启 实例名称 要部署的数据库实例名称(Instance Name) 实例路径 数据库数据文件(Data Cluster)的最终存放路径 端口号 数据库服务监听端口(需未被占用且符合端口规则) 密码 / 确认密码 数据库超级用户的登录密码 服务器编码 数据库字符集,推荐使用 UTF-8 模式 1. 2114 之前:不支持模式/安全功能选择 2. 2114 版本:支持 Standard、Compatible/Oracle3. 2115 版本:支持安全功能 4. 2115C 及之后:支持Standard、Compatible/Oracle、Mysql安全功能 是否启用安全增强功能(适用于 2115 及以上版本) 开机自启 数据库实例是否随操作系统启动而自动运行 忽略大小写 初始化实例时,是否开启大小写不敏感(Case-Insensitive) -
部署中止后,上传License,再进行“继续部署”。

-
单击“采集License”,系统会自动采集当前部署环境的相关信息。单击“下载”,下载采集到的信息,发送给优炫相关技术人员生成uxdb.lic文件。

-
单击“上传license”,单击
,选中license文件,单击“确定”。
-
单击“继续部署”,直至成功。
7.5.4.MPP集群部署
MPP集群部署,在页面上实现多台机器(linux环境)下多个节点的创建、MPP配置、license部署的全过程。同时支持查看部署过程中步骤、进度、用户实际用时和预计用时的提示、日志信息的打印。在输入master信息之后,添加至少一个或者多个worker节点,单击“部署”按钮,开始自动部署。License阶段采集、上传,继续部署,直至成功。
单击“自动部署”=>单击“新增”=>选择“MPP集群部署”。

表 MPP部署解析表
| 项目 | 解析 |
|---|---|
| 主机 IP | 需要部署的机器 IP |
| 主机用户 | 需要以某个用户的身份进行安装,建议以 uxdb 用户安装 |
| 用户密码 | 上述安装用户的登录密码 |
| root 密码 | root 用户密码,用于执行系统级配置 |
| 安装包 | 选择需要的安装包;若版本不存在,请联系管理员上传 |
| 安装内容 | 仅当选择“一体化包”时显示,可自由勾选子组件 |
| 安装路径 | 软件程序存放路径,默认:/home/uxdb/uxdbinstall |
| SSH 端口 | 用于连接主机的 SSH 端口号,默认为 22 |
| uxccAgent 开机自启 | 默认不开启 |
| 实例名称 | 数据库实例标识,长度不超过 64 位 |
| 路径 | 实例数据存储路径,需保证安装用户有访问权限且符合路径规则 |
| 端口号 | 数据库监听端口,需符合端口规则且未被占用 |
| 密码 | 数据库登录密码,不能为空 |
| 确认密码 | 不能为空,且必须与上述密码保持一致 |
| 服务器编码 | 默认 UTF-8 编码,也可根据需求选择其他编码 |
注意
-
只可在同用户下创建MPP部署。
-
多个节点路径部署MPP时,建议实例路径与部署安装路径保持一致。
-
如果环境存在UXPASSWORD变量可能会导致MPP部署失败,请在部署MPP之前清除UXPASSWORD变量。


7.5.4.1.添加Worker
单击“添加”按钮,弹出添加worker对话框,输入信息,单击“确定”按钮。

7.5.4.2.修改Worker
单击列表的修改按钮,可对某节点进行修改。

弹出修改worker页面,修改之后,单击“确定”按钮即可。
7.5.4.3.删除Worker
在Worker列表选择需要删除节点,单击“删除”按钮即可。
7.5.4.4.采集license
单击“采集license”按钮,列表中显示所有节点的license采集信息,采集成功之后,单击“下载”按钮,生成uxdblicense.info文件,包含主板序列号、版本等,将此文件交付本公司技术人员,生成uxdb.lic文件。

7.5.4.5.上传license
单击
,选择uxdb.lic文件之后,单击“确定”,上传成功之后会在列表中显示结果。

在执行部署之前需要上传工具包,上传方法参见文件管理。
7.5.4.6.删除部署任务
在部署任务列表页面,选择对应要删除的部署任务,单击“删除”按钮即可。

删除一般部署任务,会提示“是否确认删除该部署任务?”,单击“确定”,删除成功。
删除特殊部署任务,会提示“该部署任务目前正在进行中,删除可能导致任务部署异常,是否确认删除该部署任务?”,单击“确定”,删除成功。
7.5.5.主备集群部署
主备集群部署,在页面上实现多台机器(linux环境)下实例创建、主备配置、license部署的全过程。同时支持查看部署过程中步骤、进度、用户实际用时和预计用时的提示、日志信息的打印。填写对应参数信息,单击“部署”按钮。



表 主备集群部署解析表
| 项目 | 解析 |
|---|---|
| 主机 IP | 需要部署的机器 IP |
| 主机用户 | 需要以某个用户的身份进行安装,建议以 uxdb 用户安装 |
| 用户密码 | 上述安装用户的登录密码 |
| root 密码 | root 用户的密码 |
| 安装包 | 选择安装包;若版本不存在,请联系管理员通过“文件管理”上传 |
| 安装内容 | 仅限一体化包时显示,可自由勾选子组件 |
| 安装路径 | 软件程序安装目录,默认:/home/uxdb/uxdbinstall |
| SSH 端口 | 用于连接主机的 SSH 端口号,默认为 22 |
| uxccAgent 开机自启 | 默认开启;涉及 Agent 的部署类型可选择是否随系统启动 |
| 实例名称 | 数据库实例标识,长度不超过 64 位 |
| 路径 | 实例存储路径,需保证安装用户有访问权限且符合路径规则 |
| 密码 / 确认密码 | 数据库登录密码,不能为空且需保持一致 |
| 端口号 | 数据库监听端口,需符合规则且未被占用 |
| 数据库 | 节点所在机器的数据库实例名称 |
| 数据库用户 | 数据库内部用户名称,默认:uxdb |
| 服务器编码 | 默认 UTF-8 编码,也可选择其他编码 |
| 优先级 | 故障切换依据:主机宕机时,优先级值越大,升为主机的概率越高 |
| 虚拟 IP | 主备集群对外统一使用的 VIP,不能与其他 IP 冲突 |
| Max_wal_senders | 主机允许连接的最大并发数量,默认值为 10 |
| Wal_keep_segments | 指定 WAL 目录中保留的最小旧日志段数量,防止备机落后太多导致断连 |
| 流复制模式 | 同步:实时更新,数据零丢失;异步:间隔更新,性能更优 |
| 安全功能 | 默认关闭(适用于需要等级保护或加密需求的场景) |
7.5.5.1.添加备节点
单击“新增”按钮,弹出新增备节点对话框,输入信息,单击“确定”按钮。

7.5.5.2.修改备节点
单击备节点主机列表的“修改”按钮,可对备节点进行修改,单击“确定”,修改成功。
7.5.5.3.删除备节点
在备节点主机列表选中需要删除节点,单击“删除”,删除成功。
7.5.5.4.添加见证节点
单击“新增”按钮,弹出新增见证节点对话框,输入信息,单击“确定”按钮。

备注:如果已存在见证节点,不可新增,只能存在一个。
7.5.5.5.修改见证节点
单击见证节点主机列表的“修改”按钮,可对某节点进行修改,单击“确定”,修改成功。
7.5.5.6.删除见证节点
在见证节点主机列表选择需要删除的节点,单击“删除”,删除成功。
8.监控中心
8.1.资源监控
单击菜单导航“监控中心”=>”资源监控”,获取资源监控界面。

界面左侧为资源展示,其中包含了主机、单实例、主备集群、RAC集群、MPP集群、进程。界面右侧为对应资源的监控配置界面。
鼠标悬停主机上显示提示信息,针对主机、单实例、主备集群、RAC集群、MPP集群和进程显示信息不同。
以主机显示信息为例,由图标、IP地址和告警数量组成,如下所示。

主机图标展示通信状态,通信正常为绿色,通信异常为红色。
实例图标展示运行状态:在运行中、正在关闭、删除中、在恢复中、在恢复过程中关闭数据库以及迁移会展示为绿色;正在启动、关闭以及创建中会展示为红色;故障会展示为黄色。
告警数量展示当前主机的告警数量,有告警时显示红色,无告警时显示灰色。
主机资源显示信息:IP地址、通信状态、系统类型、CPU型号、CPU利用率、磁盘利用率、内存利用率。
实例资源显示信息:实例名称、IP地址、端口号、启动命令、运行状态、告警等级。
进程资源显示信息:主机IP、进程名称、进程号、进程状态、启动用户、启动命令、进程CPU利用率、进程内存利用率、告警等级、进程启动时间、CPU型号、内存大小、主机CPU利用率、主机内存利用率。
8.1.1.主机监控
选中左侧主机资源,可以刷新右侧主机信息,主机信息包含主机列表以及许可证列表。主机列表可以支持批量开启/关闭主机监控;也支持对单个主机进行监控策略切换。

表 主机列表项
| 字段 | 解析 |
|---|---|
| IP 地址 | 展示主机的 IP 地址 |
| 系统类型 | 识别操作系统,包括:Linux、Windows 以及“不知名系统” |
| 通信状态 | 分为:通信正常 和 通信异常 |
| 监控 | 用户操作项,支持 开启 或 关闭 监控 |
| 监控状态 | 1. 正在监控:监控开关打开且通信正常时展示 2. 暂停监控:当通信异常时自动展示 3. 停止监控:当用户手动关闭监控开关时展示 |
| 监控策略名称 | 展示该主机当前关联的监控策略名称 |
8.1.1.1.主机操作
-
开启监控
勾选需要开启的主机数据,单击“开启监控”,提示“开启成功”。可以批量开启监控。主机列表中监控变成开启状态。
-
关闭监控
勾选需要关闭的主机数据,单击“关闭监控”,提示“关闭成功”。可以批量关闭监控。主机列表中监控变成关闭状态。
-
是否监控状态切换
单击主机列表中是否监控开关,实现单个监控的开启和关闭。
-
批量切换策略
选择同一种系统类型的主机可以批量切换监控策略,选择不同的主机类型无法批量切换并会给出提示。
-
绑定监控策略
主机列表中根据系统类型显示默认监控策略,可以通过单击监控策略名称下拉框去绑定其他的监控策略。
-
条件过滤查询
可以通过站点IP、系统类型、是否监控进行筛选,获取所需要的数据。
-
修改管理路径
单击操作列的“修改管理路径”,弹框如下所示。
显示当前管理路径下数据库的实例名称、端口和实例路径。填写新的管理路径地址,单击“确定”后弹出二次确认弹框,继续单击“确定”,修改成功。
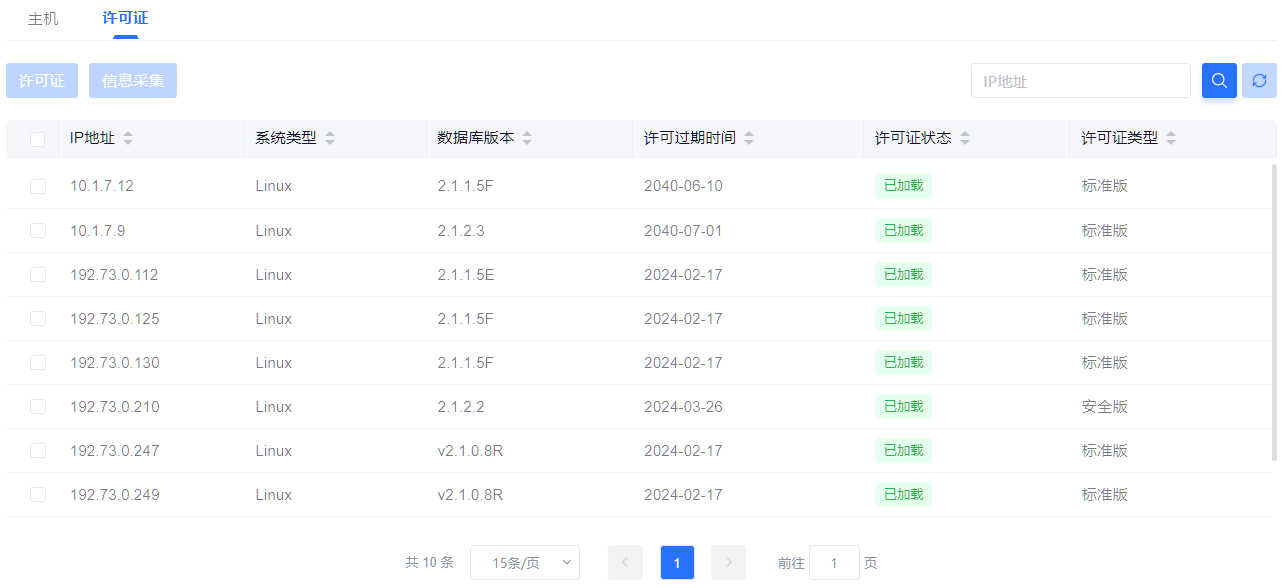
8.1.1.2.许可证
许可证列表可以支持批量采集机器license信息以及加载机器license文件。

-
许可证载入
选择加载的机器,单击“许可证”,对于上步获取的uxdb.lic文件选中并且上传至选中的机器。

-
信息采集
选择需要加载许可证的机器,单击“信息采集”按钮,下载UxdbLicense.json文件在本地,用于生成uxdb.lic文件。
8.1.1.3.主机视图
选中左侧某一具体主机时,可以动态查看该主机的主机监控信息。

监控界面的基础监控项包含cpu利用率、内存利用率、磁盘利用率、磁盘I/O速度、网络传输速率、网络错误统计率、进程信息 TOP10。
可以在右上角可以切换查看自定义监控项信息。

8.1.2.单实例监控
选中左侧单实例,右侧可以查看所有单实例监控的配置。支持批量开启/关闭实例监控、单独开启/关闭实例监控,同时支持对未连接的实例进行数据库连接。

8.1.2.1.数据库
当需要监控数据库时,要先进行数据库连接,单击数据库页签,可跳转至连接数据库界面。

单击“获取数据库”,弹框输入相关信息。

表 数据库连接项
| 参数 | 说明 |
|---|---|
| 数据库名称 | 需要监控的数据库名称 |
| 用户名 | 数据库的登录用户,建议使用超级管理员用户 |
| 密码 | 数据库登录用户对应密码 |
单击“确定”,则连接成功,同时刷新数据库列表信息。
列表支持对数据库进行批量开启/关闭监控以及批量授权。
-
是否监控
在需要查看监控时,需要提前在此打开监控开关。打开监控开关默认使用默认监控策略进行数据采集。
-
监控策略切换
在列表监控策略栏,可以根据业务需求切换监控策略。
-
监控授权
单击操作列的“监控授权”,选择权限,单击“开启”进行授权。

参数说明如下所示。
表 监控授权项
| 字段 | 解析 |
|---|---|
| 授权 | 监控授权项的名称 |
| 描述 | 对该监控授权项的具体功能或范围描述 |
| 状态 | 当前授权状态(注:该列仅在通过操作列的“监控授权”进入时显示) |
可以支持批量对多个权限进行授权或者禁用权限。
8.1.2.2.数据库视图
数据库视图页签主要展示数据库级别监控信息,其中主要分为会话与事务、表与索引、性能、空间容量、主备集群、全部指标等六部分,其中可以在右上角进行内容切换。
监控信息共分为六个模块:会话与事务、表与索引、性能、空间容量、主备集群、全部指标。
8.1.2.2.1.会话与事务
会话与事务包括会话信息、会话统计、每秒平均事务数、事务统计、长事务统计和冻结事务。
-
会话信息
显示近一小时的柱状折线统计图数据,包括全部会话数、活跃会话数以及会话率。
单击“更多历史记录”,可以查看近1小时,近1天,近7天以及自定义时间范围内的统计数据。

-
会话统计
左边展示最大连接数以及剩余连接数,剩余连接数再小于最大连接数的10%时,会显示提示信息“剩余连接数小于xxx,请释放连接或者修改最大连接数参数”。右边展示会话统计,数据超过15条可以显示分页。
表 会话统计
字段 说明 客户端IP 客户端IP 会话数(个) 全部会话数 活跃会话数(个) 活跃会话数 空闲会话数(个) 剩余的空闲会话数
单击“更多”查看更多数据,支持通过客户端IP进行查询。
-
每秒平均事务数
显示近一小时的每秒平均事务数的折线统计图。

单击“更多历史记录”,可以查看近1小时,近1天,近7天以及自定义时间范围内的统计数据。
-
事务统计
显示近一小时的柱状折线统计图数据,包括全部事务数、回滚事务数以及事务回滚率。

单击“更多历史记录”,可以查看近1小时,近1天,近7天以及自定义时间范围内的统计数据。
-
长事务统计
左边展示长事务数、空闲事务数和长空闲事务数。右边展示长事务统计,只显示前5条。
表 长事务统计
字段 说明 PID 长事务PID 用户名 长事务用户名 客户端IP 长事务客户端IP 客户端端口 长事务客户端端口 状态 长事务状态 连接时长 长事务连接时长 
单击“更多”查看更多长事务,支持通过客户端IP进行查询。
-
冻结事务
查看冻结事务信息。
表 冻结事务
字段 说明 数据库名称 数据库名称 冻结的事务ID 冻结事务ID 年龄 冻结事务年龄
单击“autovacuum参数”,可以查看具体参数信息。8.1.2.2.2.表与索引
表与索引共分为六个部分,如下所示。
-
数据总结
表总数、索引总数,可以查看总数,以及与上次采集数据的变化;表膨胀数、索引膨胀数、热表数、冷表数、年龄大于2亿的对象占用空间数。表膨胀数与索引膨胀数可单击查看详情。
表膨胀数:可根据表名进行搜索,可查看autovacuum参数。
索引膨胀数:可根据表名进行搜索,可查看autovacuum参数。
-
全表扫描次数TOP10对象
提示信息:建议对表添加索引。
表 全表扫描次数TOP10对象
字段 说明 Schemaname 数据库模式名(Schema Name) 表名 表名称 扫描次数 该表被扫描的总次数

-
全表扫描返回记录数TOP10对象
提示信息:建议对表添加索引。
表 全表扫描返回记录数
字段 说明 Schemaname 数据库模式名 表名 表名称 返回记录数 该表被查询时,实际返回给客户端的记录总数

-
表占用磁盘空间TOP10
表 表占用磁盘空间TOP10
字段 说明 表名 表名称 占用磁盘空间大小(KB) 该表占用的磁盘空间大小,单位为 KB

单击“磁盘使用情况”,可查看所有磁盘信息。
-
表缓存命中率低TOP10
表 表缓存命中率低TOP10
字段 说明 表名 表名称 缓存命中率(%) 该表的缓存命中率,单位为 %

单击“内存利用率”,可以查看近1小时,近1天,近7天以及自定义时间范围内的内存利用率的折线图。
-
未使用索引
表 未使用索引
字段 说明 表名 表名称 索引名 该表中未被查询使用的索引名称

8.1.2.2.3.性能
单击“告警中心”按钮右侧的下拉菜单,选择“性能”。
-
每秒平均查询数(QPS) 折线图
展示平均每秒查询数的趋势图,默认展示最近1小时的数据。

鼠标悬浮图上可查看当前点的tip信息,在图表上缩放鼠标或者拖动时间轴可查看最近一小时内不同时间段的数据。
单击“更多历史记录”,可以查看近1小时,近1天,近7天以及自定义时间范围内的统计数据。
-
TOPSQL列表
TOPSQL包括最耗时SQL、最耗IOSQL、调用次数最多的SQL和最耗共享内的SQL,默认显示最耗时SQL列表数据,可切通过换查看其详情信息。
以最耗时SQL为例,如下所示。

最耗时SQL列表字段:QUERYID、sql文本、用户ID、用户名称、平均耗时(ms)和SQL优化。
最耗IOSQL列表字段:QUERYID、sql文本、用户ID、用户名称、IO耗时(ms)和SQL优化。
调用次数最多的SQL列表字段:QUERYID、sql文本、用户ID、用户名称、调用次数和SQL优化。
最耗共享内的SQL列表字段:QUERYID、sql文本、用户ID、用户名称、块总数和SQL优化。
SQL优化字段展示explain SQL的内容。单击“explain”按钮,弹窗展示explain SQL的文本内容。
Explain Sql弹窗:在上方输入框中可以修改sql语句,单击“explain”按钮进行sql解析,数据显示在下方框中,内容不可修改。

-
等待事件趋势图
展示等待事件的趋势图,默认展示最近1小时的数据。
鼠标悬浮图上可查看当前点的tip信息,缩放鼠标或者拖动时间轴可查看最近一小时内不同时间段的数据。单击“更多历史记录”,可以查看近1小时,近1天,近7天以及自定义时间范围内的统计数据。
-
等待事件TOP10列表
根据事件的等待时间排序,倒序取TOP10字段。列表字段包括sql文本、Event-type、Event和等待时间(ms)。

8.1.2.2.4.空间容量
-
表空间使用情况
展示所以的表空间使用详情,列表字段包括表空间名称、所属目录、表空间大小、磁盘剩余空间、空间日增长率和空间周增长率。

-
表空间容量使用趋势图
展示表空间日增长/周增长的趋势图。可通过“日/周”切换趋势图。日增长默认展示最近1个月的数据。周增长趋势图默认展示最近6个月的数据。一个表空间对应一条折线图表示。多个表空间则多条折线。
鼠标悬浮图上可查看当前点的tip信息,可以拖动时间轴供用户选择时间展示范围。单击“更多历史记录”,可以查看近1小时,近1天,近7天以及自定义时间范围内的统计数据。
-
磁盘使用情况
展示磁盘各分区的磁盘使用情况,包括总大小、使用率、已使用空间和剩余空间。

-
磁盘IO速率(IOPS)
根据后端数据几个磁盘就有几个图表展示。展示磁盘IO速率趋势图,默认展示最近1小时的数据。
鼠标悬浮图上可查看当前点的tip信息,可以拖动时间轴供用户选择时间展示范围。单击“更多历史记录”,可以查看近1小时,近1天,近7天以及自定义时间范围内的统计数据。
-
CPU使用率
数据:最近一小时
鼠标悬浮图上可查看当前点的tip信息,可以拖动时间轴供用户选择时间展示范围。单击“更多历史记录”,可以查看近1小时,近1天,近7天以及自定义时间范围内的统计数据。
-
内存使用率
数据:最近一小时
鼠标悬浮图上可查看当前点的tip信息,可以拖动时间轴供用户选择时间展示范围。单击“更多历史记录”,可以查看近1小时,近1天,近7天以及自定义时间范围内的统计数据。
-
WAL日志
展示wal日志默认大小的参数,列表字段包括指标名称和值字段。

-
归档日志
展示日志归档路径、归档日志大小、归档次数、归档失败次数,列表字段包括指标名称和值字段。

8.1.2.2.5.主备集群
-
拓扑图
展示节点所在的主备集群关联关系,每个节点图标下方需要展示IP地址信息,可缩放拖动拓扑位置和大小。
图标信息中展示信息有,IP地址、端口号等信息。
可切换展开/收起拓扑图注释,里面会展示运行状态,告警等级,拓扑显示总数。
-
节点信息
用列表展示拓扑图中每个节点信息,列表字段包括节点IP、端口号、会话数、活跃会话数、QPS和检查点同步时间比。

-
主备延时
用于展示主备集群模式时,备库相对于主库的延时情况。
鼠标悬浮图上可查看当前点的tip信息,可以拖动时间轴供用户选择时间展示范围。单击“更多历史记录”,可以查看近1小时,近1天,近7天以及自定义时间范围内的统计数据。
8.1.2.2.6.全部指标
单击“告警中心”按钮右侧的下拉框,选中“全部指标”,左边是实例数据库监控的所有监控项,右边是选中监控项的监控指标数据。

-
实例切换
通过实例下拉框来切换实例。切换之后,清空数据库,同时全部指标数据也会清空,手动选择数据库之后,显示该数据库绑定策略下的所有监控项及对应指标。
-
监控项切换
切换已选监控项,显示对应所有的指标。根据监控项类型的不同显示样式为列表或卡片。
以WAL日志为例,如下所示。

-
查看指标
单击指标,按照指标的返回值类型,如果是字符串,那么以列表的形式显示采集时间和采集值;否则,以趋势图的形式显示采集时间和采集值,默认显示近1小时的数据,可切换tab标签来选择近1天、7天或者自定义时间段进行采集数据的查询。
以WAL日志中的文件大小为例,如下所示。

8.1.2.3.主机视图
进入主机视图界面,该页面展示主机相关的系统默认监控项的监控数据。包含:cpu利用率、内存利用率、磁盘利用率、磁盘I/O速度、网络传输速度、网络错误统计率、进程信息7个监控项。

8.1.3.SRAC集群监控
单击SRAC集群监控,右侧界面展示集群相关信息,内容包含集群列表以及该RAC集群的实例列表。

集群列表展示SRAC集群信息,单击“集群名称”支持查看当前集群的实例列表。
实例列表支持对实例批量开启/关闭监控、开启/关闭实例级监控开关以及数据库连接,参见单实例监控。
单击左侧RAC集群下的某个具体实例时,可以直接查看当前实例的监控信息,参见单实例监控。
8.1.4.主备集群监控
单击左侧主备集群,可查看主备集群监控配置。支持批量开启/关闭主备集群实例级监控以及数据库连接,参见单实例监控。

单击左侧主备实例,可以直接查看数据库监控。操作方式参见单实例监控。
8.1.5.MPP集群监控
单击左侧MPP集群,可查看MPP集群监控配置。支持批量开启/关闭MPP集群的实例级监控以及对应实例的数据库连接。操作方式参见单实例监控。

单击左侧MPP集群中某个具体实例,可以查看该实例的数据库监控等信息。操作方式参见单实例监控。
8.1.6.进程监控
单击左侧进程,可查看进程监控配置。选中进程资源中的进程类型资源或者进程分组资源,右侧展示进程列表;选中左侧进程资源中的单进程资源,右侧展示进程视图。

表 进程列表项
字段 解析 名称 进程的名称 IP 地址 展示进程所属主机的 IP 地址 PID 进程的标识符(Process ID) 通讯状态 分为:通讯正常 和 通讯异常 监控 用户操作项,支持 开启 或 关闭 监控 启动命令 启动该进程所使用的完整命令或路径 进程状态 进程的当前运行状态(如 Running, Sleeping, Zombie 等) CPU 利用率 该进程当前占用的 CPU 百分比 内存利用率 该进程当前占用的内存百分比 监控策略名称 该进程绑定的监控策略名称 进程列表支持新增及删除监控进程、批量或单独开启/关闭进程监控、批量或单独切换进程监控策略、修改进程或进程分组名称、编辑进程或进程分组。
8.1.6.1.进程操作
-
新增进程
单击列表上的“新增”按钮,如下所示。

单击“选择”按钮,如下所示。
通过切换主机IP可以查询出不同机器的活跃进程列表,可以通过进程名称、PID及命令模糊搜索查询相应进程。勾选需要添加的进程,单击“确定”,结果如下所示。
如果不需要某个进程可以单击“移除”按钮将其从列表中移除,单击“确定”按钮,提示“操作成功”,进程资源列表和进程监控列表刷新。如果将添加的类型切换为“进程组”,如下所示。
输入分组名称后,选择需要添加的进程,选择步骤跟单进程相同,完成后单击“确定”,提示“操作成功”,进程资源及进程监控列表刷新。-
开启监控
勾选需要开启监控的进程,单击“开启监控”,提示“操作成功”。可以批量开启监控。进程列表中监控变成开启状态。
-
关闭监控
勾选需要关闭监控的进程,单击“关闭监控”,提示“操作成功”。可以批量关闭监控。主机列表中监控变成关闭状态。
-
删除进程
勾选需要删除的进程,单击“删除”,弹出确认信息,如下所示。
单击“确定”,提示“操作成功”,进程资源列表和进程监控列表刷新。-
批量切换策略
勾选需要切换策略的进程,单击“切换监控策略”,弹出确认框,如下所示。
单击“确定”,切换监控策略名称,如下所示。
单击“确定”,提示“操作成功”,监控进程列表刷新,列表中的监控策略名称变为切换后的策略名称。-
条件查询
可以通过进程名称、IP地址、进程状态、是否监控进行筛选,获取所需要的数据。
-
修改名称
单击需要修改名称的“编辑”按钮,弹出进程名称修改弹框,输入新名称后单击“确定”,提示“操作成功”进程资源列表和进程监控列表刷新。
-
监控状态切换
单击进程列表中的监控开关,实现单个监控的开启和关闭。
-
绑定监控策略
进程列表中显示默认监控策略,可以通过单击监控策略名称下拉框去绑定其他的监控策略。
-
编辑
单击操作列的“编辑”,弹出编辑分组弹框,如下所示。
单击下拉框,选中需要切换的分组名称,单击“确定”按钮,提示“操作成功”,进程资源列表和进程监控列表刷新。单击进程分组上的“编辑”,弹出编辑进程组弹框,如下所示。
单击“选择”按钮可以选择其他不在监控列表中的进程。可以单击“移除”将进程从分组中移除,单击“确定”,提示“操作成功”,移除的进程以单进程形式出现在监控进程列表,添加的进程出现在分组中。8.1.6.2.进程视图
选中左侧某一单进程或者单击列表中单进程的名称,可以动态的查看该进程的进程监控信息。

进程视图包含进程基础信息、进程CPU使用率、进程物理内存使用率和进程内存占用。
单击“更多历史记录”,可以查看近1小时,近1天,近7天以及自定义时间范围内的统计数据。已进程CPU使用率为例,如下所示。

可以自定义时间段查询进程视图。
单击页面上的“自定刷新”开关,可以控制是否自动刷新。
8.1.7.告警中心
单击某一具体主机、单实例、RAC集群、主备集群、MPP集群和进程时,右上角有“告警中心”按钮,可以在弹框中查看活动当前资源的活动告警情况,并且对应的告警名称了支持查看具体的告警信息描述。
8.2.监控策略
8.2.1.监控策略列表
单击菜单导航“监控中心”=>”监控策略”,获取监控策略列表,系统有四种默认策略,分别为:进程监控策略、默认Linux监控策略、默认Windows监控策略、默认UXDB监控策略。

表 监控策略项
字段 解析 策略名称 监控策略名称 策略类型 监控策略类型,包括系统默认和用户自定义 对象类型 策略项的对象类型,包括主机 (Linux),主机 (Windows),UXDB,进程 描述 监控策略项描述 操作 包括编辑和删除操作 8.2.2.策略操作
-
创建策略
单击策略列表左上角“新增”,创建策略。选择了“监控对象类型”后,会对应出现监控项配置和告警项配置。
表 策略字段说明字段 解析 策略名称 策略名称长度需小于 64 位 监控对象类型 选择对象类型,包括:主机 (Windows)、主机 (Linux)、UXDB、数据库实例、进程 描述 新建策略的具体功能或用途说明 选择 选择要应用此策略的具体监控对象 监控项配置 配置策略的具体监控项、采集周期以及关联的指标数据 采集周期 仅在监控配置中可修改。设置的时间不能小于默认采集周期,生效后将按设定频率采集指标 告警项配置 针对监控指标设定相应的告警规则(如阈值、判定逻辑等) 在新建策略时,单击监控对象类型时,会根据选择的类型显示对应的监控项和指标。
单击“选择对象”按钮,会显示一个弹框,该弹框根据“监控对象类型”展示不同的列表。
-
当监控对象类型为windows,linux时,选择监控对象为主机。

-
当监控对象类型为UXDB时,选择对象为实例数据库。
- 当监控对象类型为进程时,选择监控对象为进程。
新增自定义策略时,默认获取告警项配置中的告警项列表,单击操作中的“编辑”可修改当前告警项的告警规则,勾选被修改过告警规则的告警项并保存后,该规则属于该策略,未被修改告警规则的告警项同告警项配置中的告警规则保持一致。恢复默认值可以支持将当前告警设置恢复到系统默认状态。
-
编辑策略
单击“编辑”按钮,打开策略编辑页面,自定义策略除“监控对象类型”以外的策略信息可进行修改,默认策略可修改的有:监控项配置中未默认勾选的监控项配置、监控项配置的采集周期和告警项配置。
-
删除策略
勾选需要删除的自定义策略项,单击“删除”按钮进行删除操作。系统默认的监控策略不能删除。
-
查询策略
监控策略可以策略名称、对象类型进行筛选查询。
-
查看策略
单击列表中的“策略名称”,打开策略查看页面,可只读策略相关信息。
-
监控项名称查询
在新增和编辑策略时,支持监控项名称过滤,输入监控项名称,回车或者单击“查询”按钮显示对应监控项;单击“清除”按钮,查询所有的监控项。
-
告警项名称查询
在新增和编辑策略时,支持告警项名称过滤,输入告警项名称,回车或者单击“查询”按钮显示对应告警项;单击“清除”按钮,查询所有的告警项。
8.3.自定义监控项
8.3.1.页面总览
单击菜单导航“监控中心”=>“自定义监控项”,获取自定义监控项列表,列表中展示监控项名称、类型等信息。

表 自定义监控项列表项
字段 解析 指标项名称 监控指标的中文名称 监控项名称 监控项的中文名称 监控项适用范围 资源类型包括:Linux, Windows, UXDB 状态 监控项的开关状态:启用 / 禁用 协议 通讯协议:Windows 和 Linux 使用 SSH,UXDB 使用 JDBC 描述 对监控项的补充说明 操作 包含“编辑”等管理功能 8.3.2.自定义监控项操作
-
新增监控项
单击自定义监控项列表左上角“新增”按钮,新增监控项。
表 监控项字段说明字段 解析 指标项名称 必填,限 64 字符,禁止输入中文 指标项中文名称 必填,限 64 字符 监控项名称 必填,限 64 字符,禁止输入中文 监控项中文名称 必填,限 64 字符 监控项使用范围 必选,下拉选择:Linux、Windows、UXDB 返回值类型 必选,选项:字符串 / 数字 / 百分比 / 列表 / 布尔值 监控指标数据类型 必选,仅当返回值类型为“列表”时显示 采样周期 必选,预设值:30秒 / 1分钟 / 5分钟 / 1小时 / 1天 协议 必选,Linux/Windows 使用 ssh,UXDB 使用 jdbc 指令检测 必填,执行采集的具体指令或 SQL 去前缀正则 选填,支持对结果集进行前缀正则表达式过滤 去后缀正则 选填,支持对结果集进行后缀正则表达式过滤 描述 选填,对当前指标项的自定义描述说明 -
修改监控项
选中需要修改的监控项,单击操作栏“编辑”,打开监控项的修改界面,编辑界面有些字段不可修改为禁用状态,只能修改没有禁用的字段,修改完成后单击“确定”按钮,保存修改数据。

-
删除监控项
选择需要删除的监控项,单击“删除”按钮,进行监控项的批量删除。如果自定义监控项被策略使用,先要移除监控策略中的数据才能删除。
-
查询监控项
可以通过监控项中文名称(模糊查询),进行监控项的筛选。
-
状态的开启和禁用
单击列表状态列的状态切换按钮进行开启和禁用监控项操作。
8.4.诊断模板
8.4.1.页面总览
单击菜单导航“监控中心”=> “诊断模板”,显示系统中存在的诊断模板列表。

表 诊断模板字段说明
字段 解析 模板名称 必填,限 20 个字符 模板类型 包括系统默认和用户自定义两种。数据库默认应用系统默认模板 描述 非必填,限 50 个字符 操作 编辑:参见“新增/编辑诊断模板”章节; 复制:名称与应用范围不同,其余配置相同; 应用范围:参见“诊断模板应用范围”章节 -
系统提供默认的诊断模版,名为UXDB智能诊断模版,默认模版支持编辑。
-
诊断模版列表字段包含模版名称、模版类型、描述以及操作栏。
a. 模版类型分为系统默认和用户自定义两类。
b. 操作栏:默认模版的操作栏包含编辑、复制、和恢复默认按钮。自定义模版的操作栏包含编辑、复制和应用范围按钮。
c. 单击模版名称,可打开模版详情页面。此为查看模式,编辑功能按钮置灰。
列表页面支持查询,支持模版名称和模版类型进行查询。
8.4.2.自定义诊断模板操作
8.4.2.1.新增/编辑诊断模板
在诊断模板列表页面单击“新增”,进入新增模板页面。

表 新增诊断模板字段说明
字段 解析 模板名称 必填,限制 20 个字符 描述 非必填,限制 50 个字符 章节名称 必填,限制 20 个字符。支持编辑、删除、上移、下移(排序功能) 诊断项 核心内容。支持添加、编辑、删除、上移、下移 若编辑诊断模板,在诊断模板列表页面单击“编辑”,进入编辑模板页面,进行操作。
8.4.2.2.编辑诊断项与恢复默认
在诊断模板列表单击“编辑”,进入编辑模板页面,继续单击某一诊断项操作列的“编辑”,弹出编辑诊断项页面。

表 诊断项字段说明
字段 解析 诊断项名称 必填,限制 20 个字符 监控项 不可修改;逻辑上诊断项隶属于特定的监控项 告警规则 必填;用户仅可修改阈值(逻辑运算符通常由系统预设) 告警建议 非必填;在智能诊断报告中,提供该项异常时的处理建议 告警影响 非必填;在智能诊断报告中,说明该项异常可能导致的后果 修改过的诊断项恢复默认点亮,单击恢复默认可一键恢复到和“告警中心”中“告警项配置”的告警项一致。
8.4.2.3.诊断模板应用范围
单击某一诊断模板操作列的“应用范围”。

表 应用范围字段说明
字段 解析 待选项 所有已开启监控功能的数据库列表 已选项 已关联此诊断模板的数据库;执行诊断时将采用该模板配置 实例名称 数据库所属的实例名称 数据库名称 目标数据库名。注意: 一个模板可应用于多个数据库,但一个数据库只能绑定一个诊断模板 IP地址:端口 数据库实例所在的 IP 地址及启动监听端口 对于自定义诊断模版,需要提供诊断模版的应用范围,即对哪些数据库生效。
默认的UXDB诊断模版是默认对全部数据库生效。如果数据库被绑定到其他的自定义模版上,则与默认模版解绑。如果数据库被自定义模版中删除且无任何自定义模版与之绑定,则数据库最终又绑定到默认模版。
8.4.2.4.诊断模板的恢复默认
默认模版被编辑后,可通过“恢复默认”按钮一键还原到出厂设置。
8.4.2.5.诊断模板的复制功能
单击某一诊断模板列表的“复制”,可以完整复制一份诊断模板,用户需要重新命名。用户可在复制的模版上做修改,提供快速自定义模版的功能。
8.4.2.6.删除诊断模板
-
内置模版不支持删除,内置模版的复选框禁用。
-
自定义模版支持删除,已应用到数据库自定义模版也支持删除,删除后原来绑定到该模版的数据库自动绑定到默认模版。
8.5.智能诊断
8.5.1.页面总览
单击菜单导航“监控中心”=> “智能诊断”,进入智能诊断列表页面。

表 智能诊断字段说明
字段 解析 诊断时间 创建智能诊断的时间 实例名称 数据库所属的实例名称 数据库名称 进行智能诊断的数据库 IP地址:端口 数据库所在服务器对应的IP地址,实例启动的端口号 路径 实例所在路径 诊断状态 诊断中,诊断完成,诊断失败 操作 操作 列表页面支持查询,支持以实例名称、数据库名称、IP地址:端口号进行模糊查询。单击“展开”按钮,支持诊断状态和诊断时间段进行查询。
8.5.2.自定义智能诊断操作
8.5.2.1.新增诊断
单击“智能诊断”=>“新增诊断”,选择需要诊断的对象和诊断时间范围,即可对于该对象进行诊断。

表 智能诊断新建字段说明
字段 解析 诊断对象 选择对象 分别展示单实例、主备集群、MPP集群和RAC集群下的实例以及实例下面的数据库 诊断时间范围 默认为最近1小时,并提供“最近1天”、“最近7天”和“自定义”的时间选项,自定义时间的时间范围不能超过7天 8.5.2.2.删除诊断记录
提供删除诊断任务、诊断历史报告的功能。可以选择多个诊断记录进行批量删除。
8.5.2.3.查看报告
在智能诊断列表页面,确定诊断状态为“诊断完成”,再单击操作列的“查看报告”。

-
报告头部:展示基础信息,包括诊断的数据库名称、实例名称、IP地址/端口、诊断时间范围(诊断内容的开始时间和结束时间,记录到时分)。
-
章节目录
a. 系统内置的报表章节包含会话情况、事务与锁、表与索引、性能、空间容量、归档日志、主备集群、系统资源等章节。章节的内容支持自定义,最终由诊断模版决定。
b. 章节目录的作用,展示整个报告中的第一级的章节名称,并统计每个章节中的异常项+未知的诊断项数目。
c. 通过章节定位到诊断报告的具体位置。
-
诊断项详情
a. 每个诊断项的内容包含:诊断项的名称、诊断结果标识(正常、异常和未知)、诊断项的内容(曲线图、饼图、键值对或者表格)、诊断结果的内容、影响描述、建议和相关诊断分析。
b. 诊断项名称:需要加上章节序号,诊断项的名称和告警中心-告警项的名称一直。诊断报告中的诊断项一定在告警项中存在,告警项中存在的告警项不一定属于诊断项。
c. 诊断结果标识:包含正常、异常和未知3种情况。未知:因为各种原因引起的无法获取到数据的,都叫未知。如协议无法连接、权限不足,未安装相应插件等。
d. 诊断项的内容:展示诊断时间范围内采集的数据情况,形式包含曲线图、饼图、键值对和列表。具体到每个诊断项改用什么方式展示见“诊断模版”Excel表。
e. 诊断结果内容:如果诊断结果是“正常”,只需要在诊断项后标识为“正常”即可。如果诊断结果为“异常”,则需要给出具体异常描述。异常描述包含阈值的范围的描述、统计在诊断时间范围内超阈值的次数和连续持续的时间。
f. 影响:文字描述影响范围。只有在诊断项异常的情况下显示,正常时不显示。具体内容见诊断模版的“影响”字段。每个指标项的影响范围的描述由系统内置,不支持界面查看和修改。
g. 建议:文字描述。只有在诊断项异常的情况下显示,正常时不显示。具体内容见Excel表诊断模版的“建议”字段。
h. 相关诊断项分析:一个指标异常,需要分析是什么原因引起,或者会影响到哪些指标,相关诊断项分析则列出与当前诊断项相关的诊断项。
8.5.2.4.导出报告
-
单击“智能诊断”,选择需要导出的报告,单击“导出报告”,支持批量导出报告。
-
在智能诊断列表页面,确定诊断状态为“诊断完成”,再单击操作列的“查看报告”,在智能报告诊断详情页单击“导出报告”,可导出单个报告。
9.拓扑图
9.1.首页
单击“拓扑图”,进入拓扑图首页面。

首页主要拓扑单实例、主备集群、RAC集群、MPP、MPP&主备五种类型的实例信息,包括告警等级、运行状态、守护进程状态等。
9.2.单实例拓扑
单击拓扑图首页中单实例拓扑,进入单实例的详细信息查看页面。

单实例拓扑用来主要显示单实例的基本信息,包括名称、端口等。
9.3.主备集群拓扑
单击首页主备类型的集群,进入主备拓扑详情页面。

鼠标悬停在实例上,可查实例详细信息。
9.4.RAC集群拓扑
单击首页RAC类型集群,进入RAC集群拓扑界面。

9.5.MPP拓扑
单击首页MPP类型的。进入查看MPP拓扑页面。

MPP的拓扑图用来拓扑当前Master节点下面所配置的所有Worker节点的基本信息。鼠标悬停在实例上,可查实例详细信息。
9.6.MPP和主备拓扑
单击拓扑图首页中MPP&主备的集群,进入详细信息查看页面。

鼠标悬停在实例上,可查实例详细信息,同时显示实例之间的关系。
10.告警中心
以安全管理员登录系统,介绍和演示告警模块的操作。
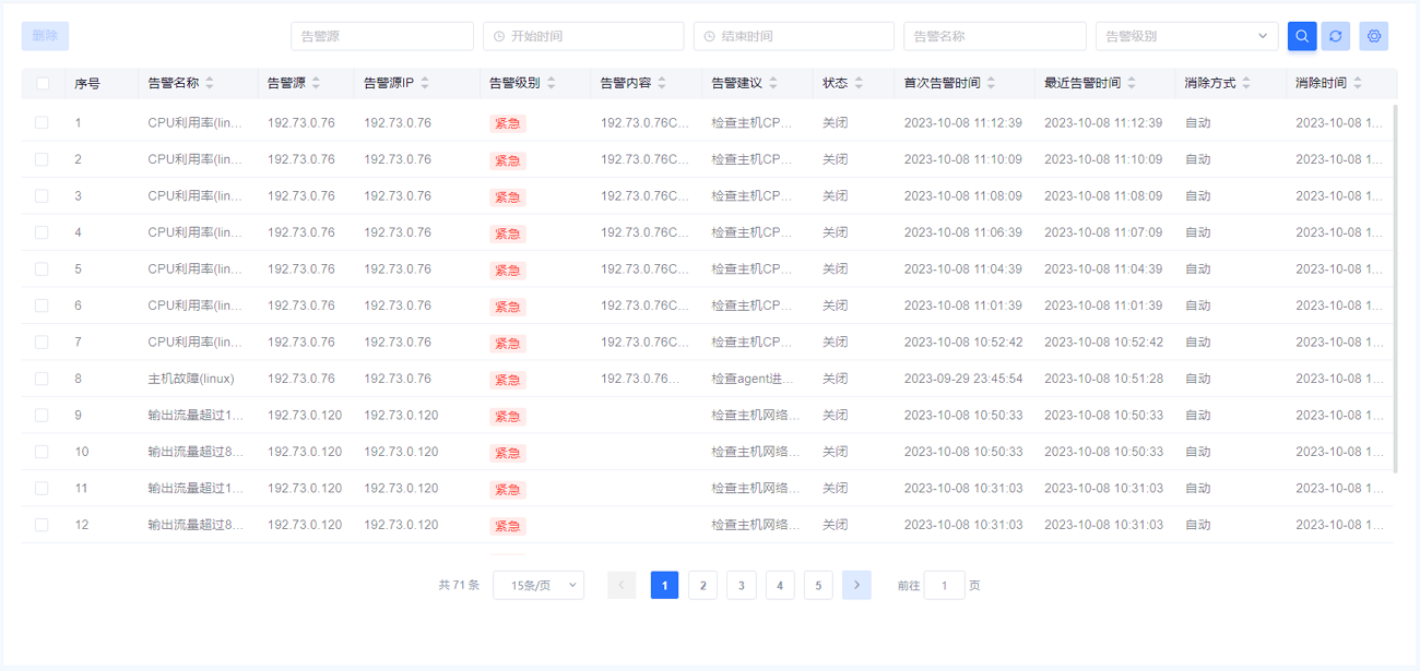
10.1.活动告警
10.1.1.页面总览
单击菜单导航“告警中心”=>“活动告警”。
活动告警显示系统中一些正在出现告警的告警信息,包含linux站点、windows站点、数据库、数据库实例、系统告警。

10.1.2.活动告警操作
-
查询
告警查询可以通过告警源关键词、告警名称、告警级别进行筛选查询,输入告警源关键字后会远程获取活动告警下所有的告警源并可以精准查询。
-
告警详情
单击列表中的“告警名称”,可跳转至告警详情。

-
实例管理
单击列表中的“告警源”,可跳转至监控页,告警源为数据库和数据库实例的告警才能进行跳转。参见资源监控。
-
活动告警提示
顶部导航右侧有消息数量提示,动态显示活动告警的总条数,可单击图标
进入活动告警列表查看告警信息。
10.2.历史告警
10.2.1.页面总览
单击菜单导航“告警中心”=>“历史告警”。
告警消除方式共有三种,自动消除、配置变更、规则改变。

10.2.2.历史告警操作
-
删除
勾选需要删除的告警项,单击“删除”按钮删除进行删除操作。
-
查询
告警查询可以通过告警源关键词、告警名称、告警级别进行筛选查询,输入告警源关键字后会远程获取活动告警下所有的告警源并可以精准查询。
-
实例管理
单击列表中的“告警源”,可跳转至监控页,告警源为数据库和数据库实例的告警才能进行跳转。参见资源监控。
10.3.告警推送
10.3.1.页面总览
单击菜单导航“告警中心”=>“告警推送”。主要设置活动告警信息推送的对象。

10.3.2.告警方式设置操作
-
新增
单击“新增”创建告警推送的方式。支持针对多个告警资源的多个告警等级、多个告警类型以短信、邮箱的方式通知到多个告警接收人。

同时也支持告警推送对象为uxcc端用户。告警类型如下所示。
-
Process-指标
进程基本信息。
-
Linux-指标
Linux-指标包括磁盘使用情况、CPU平均使用率、物理内存使用情况、网络情况、磁盘IO情况、进程信息、主机、cpu基本信息。
-
Windows-指标
Windows-指标包括磁盘使用情况、物理内存使用情况、CPU平均使用率、网络情况、进程信息、主机、cpu基本信息。
-
UXDB指标
UXDB指标包括数据库基本信息、插件信息、参数信息、表空间、WAL日志、归档模式、归档信息、角色列表、用户信息、用户数量、表索引、表活跃度、缓冲区的统计值、未使用表、热表、冷表、全表扫描次数TOP对象、全表扫描返回记录数TOP对象、监控统计信息不准的对象、索引活跃度、未使用索引、热索引、冷索引、索引数超过4个且大小超过10MB的表、序列信息、序列剩余个数、函数信息、会话基本信息、数据库活动信息、QPS、SQL活跃统计、每秒处理行数、等待事件、会话的等待事件、事务信息、临时数据文件大小、归档、按库划分、按表空间划分、数据库年龄、年龄大于N的对象占用空间数、年龄大于N的表对象、垃圾回收、冻结数据库年龄、最耗IO SQL、最耗时SQL、单次执行耗时SQL、调用次数最多SQL、响应时间抖动最严重SQL、最耗共享内存SQL、最耗临时表空间SQL、主从复制、表膨胀、索引膨胀、数据库连接情况、长事务、事务详情、WAL日志空间、主备库状态、数据空间、数据库内部定时任务、表空间拓展信息、平均RT、数据库日志。
-
数据库实例
数据库实例包括实例。
-
修改
支持对已设置的告警推送方式的修改。

其中电话及邮箱均使用用户信息中的电话和邮箱,若用户信息中的电话和邮箱为空,则发送通知失败。-
删除
选中告警推送方式列表中的想要删除掉的数据,单击“删除”,即可以完成删除操作。
-
启用
选中告警推送方式列表中想要禁用的推送方式,单击“启用”,即可以完成启用操作。如果操作成功,返回“启用成功!”。
-
禁用
选中告警推送方式列表中想要禁用的推送方式,单击“禁用”,即可以完成禁用操作。如果操作成功,返回“禁用成功!”。
-
查询
告警方式设置查询,界面通过用户名和启用状态对告警方式设置列表的过滤。
10.4.告警项配置
告警项配置主要是设置主机、UXDB与数据库实例的告警情况。
10.4.1.页面总览
单击菜单导航“告警中心”=>“告警项配置”,获取告警项配置列表信息。

表 告警项配置项
字段 解析 序号 根据站点创建的先后顺序自动生成的序号 告警名称 展示告警的名称 告警级别 分为紧急,重要,一般和提示 监控项 展示告警规则对应的监控项 告警规则 展示设置的告警规则 连续命中次数 展示告警项的连续命中次数(命中次数为 1 时候立即产生告警) 告警项类型 系统默认和自定义 告警对象类型 主机(linux)、主机(windows)、UXDB、数据库实例、进程 告警内容 展示告警的内容 告警建议 选填,不能超过 255 个字符 告警影响 展示告警影响 启用 是否启用/关闭告警 操作 编辑 10.4.2.告警项配置操作
-
新增
单击新增,打开新增弹窗按钮。
表 新增告警项字段 解析 告警名称 必填,长度不能超过50个字符,不能包含空格 指标项名称 必选 告警规则 必填。数值类型的阈值只能输入数字,时间类型的只能输入数字,阈值上限必须大于下限 连续命中次数 必填,只能输入数字,默认值为1 告警等级 必选 启用 默认启用状态是开启 告警建议 选填,不能超过255个字符 告警影响 选填,不能超过255个字符 告警内容 选填,单击左侧可用参数,右侧展示对应的名称。告警内容不能超过255个字符 单击指标项名的级联选择框,选中对象的指标项名称。告警规则内容会根据选中指标项名称进行改变,告警内容可用参数会随选中的指标项名称变化而变化。数值类型的指标项展示如下。

告警项规则输入框说明:指标项名称为数值类型的是展示阈值,字符串的展示包含,列表的展示列表项,每个列表项的类型展示和单个数值以及字符串展示一样。列表项可以新增和删除。
告警项新增所有内容校验通过,单击确定按钮,跳转到告警项配置列表页面,告警项新增成功,展示告警项列表。
-
编辑
单击“编辑”,弹出编辑框,告警规则有两种展示方式,如下所示。
目前新增告警项只支持简单的告警规则设置,展示方式如下所示。
复杂的告警规则只能通过内置方式设置,展示方式如下所示。
监控项不允许编辑,默认告警规则只允许修改阈值,同样所有内容校验通过,单击“确定”按钮,跳转到告警项配置列表页面,该条告警项编辑成功,展示告警项列表。-
批量删除
告警项类型为系统默认时候复选框是不能被选中的,批量删除不能删除系统默认的告警项。其他批量删除同单个删除一样。
-
启用告警项
在启用列,确定需要启用的告警项,单击按钮,提示开启成功。
-
关闭告警项
在启用列,确定需要关闭的告警项,单击按钮,提示关闭成功。
-
查询
在查询栏可以根据监控项名称、告警名称、告警级别进行筛选,告警名称支持模糊搜索。搜索完成后,在搜索框单击“清除”可以回到原始状态。
11.系统管理
11.1.文件管理
文件管理功能主要解决下载页面所需要的工具、驱动、文件等的实时更新,可供同一server的其它用户,可以进行工具、驱动、文件的下载。
单击菜单导航栏“系统管理”=>“文件管理”。

11.1.1.新增文件
单击“新增”,选择需要上传的文件,填写描述,单击“确定”即可完成上传,如下所示。

表 上传文件操作解析表
项目 解析 名称 选择需要上传的文件。 类型 类型分为工具、驱动、文档三个选项。
• 工具:例如 ux_migration_v2.0.4.10.tar.gz(数据库迁移工具)、uxdb-std-linux7-x86_64-v2.1.1.4.run(ver2.1.1.4版本uxdb安装包)
• 驱动:例如 libstdc++.so.6.0.23_linux7.zip(系统库文件)、uxdb-nodejs.zip(Node.js数据库连接驱动)
• 文档:例如《优炫数据库管理系统UXCC监控运维平台使用手册.pdf》描述 填入对于上传文件的相关描述,方便其他用户了解相应的文件。可以为空。 11.1.2.删除文件
选中单个文件,单击“删除”按钮,提示“确认删除选择的文件?”,单击“确定”,进行删除。也可选中多个文件,批量删除。
11.2.归档文件
单击菜单导航“系统管理”=>“归档文件”,支持系统操作日志、历史告警日志、指标采集数据的自动归档配置以及归档文件查看和下载。
11.2.1.系统操作日志
11.2.1.1.页面总览
支持对操作日志进行归档备份设置、删除以及文件导出。

11.2.1.2.日志文件操作
- 自动归档
表 自动归档设置字段字段 解析 数据保留时长 归档数据的保留时长表示数据归档之后,将删除对应时长的数据信息 归档任务执行时间 设置自动归档任务的执行时间,可根据业务的繁忙程度酌情配置 单击“确定”,可以完成对系统数据的定期归档。这里归档的数据包含系统操作日志、历史告警日志以及指标采集数据。
-
删除
选中需要删除的日志文件,单击“删除”,则可以删除该选中的日志文件。
-
查询
支持归档文件名进行查询。
-
下载
根据需要对日志文件,单击“下载”,则可以下载对应的日志文件。
11.2.2.历史告警日志
11.2.2.1.页面总览
单击菜单导航“系统管理”=>“归档文件”=>“历史告警日志”。
历史告警日志文件管理支持对历史告警日志进行归档设置、删除以及文件导出。

11.2.2.2.日志文件操作
-
下载
对需要的日志文件单击“下载”,则可以下载对应的日志文件。
-
删除
选中需要删除的日志文件,单击“删除”,则可以删除该选中的日志文件。
-
查询
支持归档文件名进行查询。
11.2.3.指标采集数据
11.2.3.1.页面总览
单击菜单导航“系统管理”=>“归档文件”=>“指标采集数据”。
指标采集数据文件管理支持对指标采集数据进行归档设置、删除以及文件导出。

11.2.3.2.日志文件操作
-
下载
对需要的日志文件单击“下载”,则可以下载对应的日志文件。
-
删除
选中需要删除的日志文件,单击“删除”,则可以删除该选中的日志文件。
-
查询
支持归档文件名进行查询。
11.3.系统操作日志
11.3.1.页面总览
单击菜单导航“系统管理”=>“系统操作日志。

11.3.2.查询操作
操作日志的查询,可以根据操作员、操作时间段、操作结果有效过滤出操作日志。
操作日志信息项的过滤,单击“列设置”,可以去除掉不关心的列项。
11.4.权限管理
11.4.1.用户组列表
单击“系统管理”=>“权限管理”,安全管理员对普通用户操作实例分配权限,将用户加入到组中对这组用户分配操作实例的权限,分配普通用户对实例的操作权限:查看、编辑。

- 新增用户组
表 新增用户组解析表
- 删除用户组项目 解析 用户组名称 字母、数字、下划线组成,4-20位 选中用户组,或鼠标悬浮用户组时,会出现“删除”按钮,单击该删除图标,进行删除。
11.4.2.用户配置
选中用户组列表中的某一项,将待配置的用户加入到选中的组中。同一个普通用户只能加入一个用户组。
添加完成后,单击“用户配置保存”按钮保存设置。

11.4.3.权限配置
-
权限配置页面
打开权限配置需选中用户组列表中某一项,对用户操作实例进行配置。

-
实例权限分配
安全管理员对用户操作实例权限进行分配。选择完成后,单击“权限管理保存”按钮保存设置。
注意只支持将单实例的编辑查看权限对普通用户授权。
11.5.通信测试
通信测试可以直接对所关注的邮箱或者手机进行试发送测试。用户可以通过试发送校对邮箱/手机号码是否与自己通讯信息所匹配,从而保障了告警推送的准确。

-
邮箱测试
表 邮箱测试表
项名称 描述 邮箱地址 需要进行试发送测试的邮箱信息 发送内容 需要进行试发送测试的邮箱内容 -
短信测试
表 短信测试表
项名称 描述 手机号 需要进行试发送测试的手机信息 发送内容 需要进行试发送测试的短信内容
12.用户管理
系统管理员super拥有对普通用户、安全管理员进行新建、删除、修改操作的权限,系统管理员super也可对自身进行修改操作,但不能新建或删除,系统管理员有且只有一个。
12.1.新建用户
以系统管理员super登录系统,单击菜单导航“用户管理”。

单击左上角“新建”,新建用户。

表 新建用户解析表
项目 解析 用户名 由字母、数字、下划线组成,长度 4-20 位。 用户角色 包含安全管理员、普通用户以及审计用户。默认新建普通用户。 邮箱 输入邮箱地址。 手机号 输入手机号码。 密码 至少包含一个字母、数字及特殊字符,长度 8-20 位。 确认密码 再次输入设置密码。 12.2.用户操作
-
修改用户
修改用户单击“修改”,即可进行用户角色、邮箱地址、手机号码及密码的修改。

开启“是否修改密码”,如下图所示。
-
删除用户
选中需要删除的普通用户或安全管理员,单击“删除”,在弹出的对话框中提示“是否确认删除该用户?”,单击“是”,即可删除选中用户。
-
查询用户
通过用户名和用户角色进行用户信息的查询。
普通用户、安全管理员、审计管理员登录系统,可通过右上角隐藏菜单进行当前用户密码和信息的查看和修改。其中密码修改需要输入旧密码。
13.审计日志
前提条件:
-
创建一个带有安全功能的实例并启动。
-
在实例配置页面设置“enable_audit”参数为on,并重启实例。
13.1.页面总览
以审计管理员登录,单击菜单导航“审计日志”,进入审计界面,左边为实例列表,右边显示审计日志,如下图所示。

13.2.查看审计日志
查看某一实例的审计日志信息,需要单击该实例的连接按钮,在弹框中输入用户名(实例审计默认连接用户在v2.1.1.5版本之前为uxad,v2.1.1.5版本及其以后为uxsao)和密码,单击“确定”。若用户名和密码正确,并且数据库连接成功,则右侧审计会自动展示该实例的审计日志信息,如下图所示。


选中已连接状态的实例,右侧审计日志实时更新。
13.3.审计日志类型
-
事件审计
事件审计列表包含序号、日志时间、命令、日志级别、操作结果、描述。
事件审计可以根据操作结果(成功、失败)、命令项(SELECT、CREATE、UPDATE、DELETE、INSERT、TRUNCATE、DROP等)有效过滤出审计结果。

-
会话审计
会话审计列表包含序号、进程ID、session开始时间、登录用户名、进程名称和从何处进行的连接。
会话审计可以根据登录用户名有效过滤出审计结果。

-
登录审计
登录审计列表包含序号、登录用户名、上一次成功登录时间、当前成功登录时间、最后一次失败时间、连续登录失败次数。
登录审计可以根据登录用户名有效过滤出审计结果。

-
自定义审计
自定义审计列表包含序号、用户名、连接、子语句、日志时间、命令、操作结果以及审计类型。
自定义审计可以根据登录用户名、操作结果(成功、失败)、命令项(SELECT、CREATE、UPDATE、DELETE、INSERT、TRUNCATE、DROP等)有效过滤出审计结果。

14.系统参数
系统参数的设置,是方便修改UXCC系统的部分参数。
以系统管理员super登录,单击顶部
按钮,如下所示。弹框如下图所示。

表 系统参数解析表
项目 解析 uxccServer Port uxccServer 的监听端口 HeartBeat Port 监听 uxccAgent 心跳端口。注意:如果变动,则需要修改对应 uxccAgent.conf 中的 talk_port字段,确保 uxccServer 的心跳端口跟 uxccAgent 的心跳端口保持一致登录失效时间 uxccServer 用户登录失效时间 uxccAgent 超时时间 uxccAgent 发送心跳的定时器时间,若此段时间未收到 uxccAgent 的心跳,则有可能出现通信故障 请求超时时间 uxccServer 请求超时时间 发送告警时间间隔 推送告警邮件、短信的时间间隔 恢复默认值按钮 支持将系统配置一键恢复至初始状态 15.应用场景
15.1.MPP检测以及添加Worker节点
15.1.1.场景说明
对于后台已经搭建好的MPP环境,有需求需要再动态添加Worker子节点,uxcc提供了在页面上直接进行可视化操作添加worker节点的功能。
15.1.2.场景解决步骤
-
保证后台有搭建好了MPP,并且需要使得MPP的各模块都是启动状态才可以完成MPP检测。其中MPP的搭建请参见《优炫数据库管理系统uxmpp使用手册》。
-
对已经检测出来的MPP进行添加节点操作,需要创建一个本地实例,请参见实例创建。
-
启动上述创建的本地实例,连接数据库与MPP中的同名数据库,通过页面添加扩展uxmpp。
-
上述步骤完成后,可以进入MPP管理页面。单击“MPP配置”进入MPP查看界面。
-
进入MPP查看界面,通过worker节点“添加”,即可完成对已配置的MPP进行Worker节点的添加。详情操作请参见worker节点操作。
15.2.UXDBServer许可证管理
15.2.1.场景说明
对于安装完UXDBServer,且没有加载UXDBServer许可证的情况下,页面创建的实例会出现无法进行数据库的相关操作,例如创建数据库操作。因此需要在启动之前加载UXDBServer许可证。
15.2.2.场景解决步骤
-
在加载UXDBServer许可证之前,先需要将生成许可证的信息获取到。因此需要在界面上对需要加载license的机器先操作信息采集。详情请参见主机操作。
-
将上步骤信息采集返回的json文件,发送给dblicense管理人员生成uxdb.lic文件。
-
选中第一步中的机器,通过许可证加载操作,详情请参见主机操作,将步骤二中的uxdb.lic文件上传。即可完成许可证的加载操作。
-
对于场景说明中阐述的情况,则需要再重新启动一下该实例,对数据库进行相关操作,例如创建数据库。
15.3.告警管理
15.3.1.场景说明
当需要对系统的告警信息,随时了解的话。Web端提供可以对设置的告警信息以短信或者邮件的方式通知用户。
15.3.2.场景解决步骤
-
对于需要关心的告警类型,需要先设置它告警的条件。以设置磁盘使用率为例。
-
先在告警设置页面设置磁盘使用率阈值。详情请参见告警项配置。
-
当后台某一可连通的机器的磁盘使用率超过所设置的阈值时,就会产生活动告警,详情可以查看活动告警页面。详细操作步骤请参见页面总览。
-
当需要将活动告警的信息以邮件或者短信的形式,告知用户时,还需要创建告警方式。详情操作请参见告警方式设置操作。
创建完成后,查看创建的告警方式是否启动,如果没有启动,请先启动告警方式。如果启动,则活动告警的信息,会依照告警项配置的方式进行推送。例如告警等级设置为“紧急”,会以邮件或者短信形式只发送严重程度为紧急的告警信息。
15.4.MPP配置
15.4.1.场景说明
UXCC页面提供不需要在后台搭建MPP环境,在页面上可视化操作进行一整套MPP的配置。
15.4.2.场景解决步骤
-
需要创建超过两个的本地实例,请参见实例创建。
-
启动上述创建的本地实例。
-
进入MPP列表页面,单击“MPP配置按钮”。
-
通过新增master节点、worker节点(master和worker节点必须保持数据库版本一致、是否加密一致和模式一致),单击“确定”按钮,即可完成一整套MPP的搭建。详情操作请参见新增MPP。
15.5.主备检测以及主备配置
15.5.1.场景说明
UXCC页面提供不需要在后台搭建主备环境,在页面上可视化操作进行主备搭建。
15.5.2.场景解决步骤
-
需要准备两个以上的环境,该环境上需要安装相同版本的uxdb和uxccAgent。
-
选择一个作为主机,需要创建本地实例,请参见实例创建。
-
启动上述创建的本地实例。
-
进入主备列表页面,单击“主备配置”按钮。
-
单击“新增”,选择该实例作为主节点,单击“配置”,填写相关参数,单击“确定”。
-
单击备节点“新增”,填写参数信息,单击“确定”,备节点列表中添加一条备节点信息。
-
单击“开始”按钮,执行主备部署任务,成功之后,即可完成主备关系配置。详情操作请参见主备配置。
15.6.集群检测以及添加实例
15.6.1.场景说明
对于后台已经搭建好的RAC集群,有需求需要在页面查看集群信息、添加集群实例、修改集群配置等操作,UXCC提供可视化进行集群管理的一系列操作。
15.6.2.场景解决步骤
-
RAC集群的启动参考《优炫数据库Super-RAC用户手册》。
-
进入集群管理页面,单击“检测”按钮,即可获取到所有集群信息。
-
单击集群列表操作栏按钮“添加实例”,填写参数,单击“确定”,添加成功之后,即可在集群列表中看到相关实例信息。详情操作请参见集群管理页面。
15.7.实例监控
15.7.1.场景说明
UXCC页面提供查看实例监控信息,首先显示该实例的基本信息,包括数据库、端口、实例路径和实例名称。实例下有不同的数据库,切换开启监控的数据库,可查看不同的数据库的监控信息。
15.7.2.场景解决步骤
-
需要创建本地实例,请参见实例创建。
-
创建成功之后,单击“配置”进入单实例管理页面,启动该实例。
-
启动成功之后,实例状态显示“在运行中”,单击菜单“监控中心”=>“资源监控”=>选择“单实例”中刚创建的实例,单击“数据库”=>“获取数据库”,进行连接操作,操作方式参见数据库连接。
-
单击“获取数据库”按钮,弹出获取数据库弹出框,输入相关参数,单击“确定”,成功之后,在列表中会显示所有数据库信息。
-
如果想要查看该实例下的某个数据库监控信息,需要将该数据库列表中的是否监控的开关打开,成功之后,提示“开启成功”。请参见数据库连接。
-
上述步骤完成之后,单击实例监控菜单,单击实例名称可查看该实例下的监控信息。开启监控的数据库可进行切换来查看监控信息。请参见资源监控。
15.8.主机监控
15.8.1.场景说明
UXCC页面提供主机监控数据,方便用户了解内存、磁盘、CPU、网络使用情况、进程信息。
15.8.2.场景解决步骤
-
单击“资源监控”菜单导航,进入资源监控信息页面,如果想要查看某个站点的监控信息,需要单击是否监控开关,开启监控,请参见资源监控。
-
单击站点ip,进入“主机视图”页面,查看cpu利用率、内存利用率、磁盘利用率、磁盘I/O速度、网络传输速度、网络错误统计率、进程信息7个监控项的监控数据,该页面展示最近一小时的监控数据,如需查看更多历史数据,请单击图标右上方的更多按钮。请参见主机视图。
15.9.自定义监控项
15.9.1.场景说明
如果系统默认的监控项不能满足用户需求,UXCC页面提供自定义监控项,来查看主机\实例下该自定义监控项的监控信息。
15.9.2.场景解决步骤
-
单击“自定义监控项”菜单导航,单击新增按钮,填写参数信息,单击确定按钮,创建成功之后在添加在列表中。参见自定义监控项。
-
单击“监控策略”,根据选择监控项使用范围,选择对应策略,单击“编辑”按钮。
-
在监控项配置中,选中该自定义监控项,将指标对应的监控开启,单击确定按钮,参见策略操作。
-
选择监控策略中选择的监控对象,单击站点ip/监控信息,进入主机监控中的自定义监控项页签。
-
单击对应监控项的指标,可查看一小时、一天、7天、自定义时间段的监控数据。
15.10.监控告警
15.10.1.场景说明
如果系统默认的告警项不能满足用户需求,UXCC页面提供新增自定义告警项,系统默认告警项可在告警项配置列表中根据告警项类型区分。
15.10.2.场景解决步骤
-
单击“告警项配置”菜单,进入告警项配置页面,单击新增按钮,输入参数,单击确定,列表中新增一条自定义告警项。参见告警项配置操作。
-
单击“监控策略”菜单,进入监控策略页面,选择对应的策略,单击编辑按钮,勾选告警项配置,单击确定按钮,参见策略操作。
-
单击“活动告警”菜单,进入活动告警页面,满足条件之后,触发告警,那么在列表中会显示新增自定义告警项的告警信息,参见活动告警。
15.11.MPP自动部署
15.11.1.场景说明
UXCC页面提供无需再后台操作,在页面可视化操作实现多台机器(linux环境)下多个节点的创建、MPP配置、license上传的全过程。
15.11.2.场景解决步骤
-
执行部署之前,需要上传工具包,参见文件管理。
-
上传成功之后,单击“自动部署”=>“新增”=>“MPP集群部署”,此时有可用的安装包。
-
输入master信息之后,添加至少一个或者多个worker节点,单击“部署”按钮,开始自动部署。
-
步骤执行到License检查,需要采集、上传License文件。参见上传license。
-
单击继续部署,直至成功。参见MPP集群部署。
15.12.智能诊断
15.12.1.场景说明
智能诊断为数据库提供实时的智能诊断,并支持查看诊断报告的内容。诊断报告可针对诊断模版中每项诊断项进行诊断,帮助用户了解数据库的运行状态,帮助判断数据库是否存在性能瓶颈,并提供异常问题定位分析。
15.12.2.场景解决步骤
-
在监控中心的资源监控中,对要监控的数据库开启监控。详情参见数据库连接。
-
在监控中心的诊断模板中新建诊断模板详情参见新增/编辑诊断模板;并且在诊断模板的应用范围中选择监控的数据库,详情参见诊断模板应用范围(如果使用系统默认模板进行诊断省略步骤2)。
3.在监控中心的智能诊断中增加智能诊断,详情参见新增诊断。
16.常见问题
16.1.状态故障
故障现象:本地实例出现故障。

问题原因:“通信故障”表示运行状态出现故障,检测不到数据,uxccAgent停止,通信故障。
问题处理:uxccAgent重新启动。
16.2.启动实例故障
故障现象:启动实例失败。

问题原因:本实例的端口号和其他实例的端口号重复。
问题处理:需要在“实例配置”里修改成不同的端口号,详情请参见实例配置。
16.3.实例配置重载
故障现象:修改主机认证信息,或者部分实例配置信息,则需要重启实例。
问题原因:上述信息的修改如果在实例运行的情况下,是不能直接修改,直接生效的。但是在某些场景下,不适合重启实例。
问题处理:对于上述问题,uxcc页面提供“重载配置”功能,可以在不重启实例的情况下,使得当前修改的主机认证信息以及部分实例配置信息,可以立即生效。详情请参见实例信息及配置。
16.4.404错误
页面地址路由输入错误会导致页面跳转失败,进入404界面,表示找不到目标主页。经过10秒之后,可自动跳转至页面首页。

16.5.导出csv文件乱码
问题现象:Excel打开csv文件乱码。

问题原因:Excel打开文件时默认使用Unicode的编码方式。在Unicode基本多文种平面定义的字符(无论是拉丁字母、汉字或其他文字或符号),一律使用2字节储存。恰恰UTF8是1字节的存储方式,所以Excel直接打开时会出现乱码。
问题处理:打开Excel,找到数据->从文本,选择一份CSV文件,出现文本导入向导,选择“分隔符号”,下一步,勾选“逗号”,去掉“ Tab 键”,完成。在“导入数据”对话框里,直接单击确定。
17.术语&缩略语
17.1.缩略语
表 缩略语详解
缩略语 英文全称 中文全称 MPP Massively Parallel Processor 大规模并行处理 WAL Write-Ahead Log 预写式日志 17.2.术语
-
会话
是一个客户与服务器之间的不中断的请求响应序列。uxcc会话可简单理解为:用户开一个浏览器,访问某一个uxcc站点,在这个站点单击多个超链接,访问服务器多个uxcc资源,然后关闭浏览器,整个过程称之为一个会话。 -
MPP
大规模并行处理,在数据库非共享集群中,每个节点都有独立的磁盘存储系统和内存系统,业务数据根据数据库模型和应用特点划分到各个节点上,每台数据节点通过专用网络或者商业通用网络互相连接,彼此协同计算,作为整体提供数据库服务。非共享数据库集群有完全的可伸缩性、高可用、高性能、优秀的性价比、资源共享等优势。 -
实例
是指操作系统中一系列的进程以及为这些进程所分配的内存块,通俗来讲数据库实例是访问数据库的通道。
18.附件
表 UXCC用户角色操作权限列表
功能模块 可操作功能点 系统管理员 安全管理员 普通用户 审计管理员 首页 资源总览 √ 用户管理 创建用户 √(不能创建系统管理员) 修改用户信息 √ √(只能修改当前用户信息) √(只能修改当前用户信息) √(只能修改当前用户信息) 修改密码 √(只能修改当前用户信息) √(只能修改当前用户信息) √(只能修改当前用户信息) 删除用户 √ 查询用户信息 √ √ 数据库管理 单实例管理 √ 新建实例 √ 实例配置 √ 日志管理 √ MPP集群管理 √ 新增MPP √ MPP配置 √ MPP检测 √ 主备集群管理 √ 新增主备 √ 主备配置 √ 主备检测 √ RAC集群管理 √ RAC集群检测 √ RAC集群配置 √ 添加实例 √ 普通部署 √ 单实例部署 √ 主备集群部署 √ MPP集群部署 √ 监控中心 资源监控 √ 主机管理 √ 许可证管理 √ 查看许可证信息 √ 信息采集 √ 许可证载入 √ 主机视图 √ 数据库视图 √ 获取数据库 √ 监控策略 √ 新增监控策略 √ 修改监控策略 √ 删除监控策略 √ 自定义监控策略 √ 新增监控项 √ 编辑监控项 √ 删除监控项 √ 拓扑图 单实例拓扑图 √ 主备集群拓扑图 √ RAC集群拓扑图 √ MPP拓扑图 √ MPP&主备拓扑图 √ 告警 活动告警 √ 历史告警 √ 告警推送 √ 告警项配置 √ 系统管理 文件管理 √ √ 归档文件 √ 系统操作日志归档 √ 历史告警日志归档 √ 指标采集数据归档 √ 系统操作日志 √ √ √ 权限管理 √ 新增用户组 √ 用户配置 √ 权限管理(子项) √ 通信测试 √ 审计日志 查看审计日志 √ 系统设置 修改系统参数 √ 恢复默认值 √ 在线帮助 查看用户手册 √ √ √ √ 下载 下载工具、驱动、文档 √ √ √ √ -